首页
伤感说说
动漫配图
心情说说
抖音文案
伤感图片
伤感说说:
伤感的句子说说心情
空间说说
心情说说
爱情说说
女生伤感说说
人生感悟
心情不好的说说
说说带图片
关于生活的说说
说说心情短语
qq空间说说带图片
个性说说
励志名言
一句话经典语录
感悟人生的经典句子
短句吧
情感故事
抖音文案
伤感图片:
伤感图片带字
非主流伤感图片
唯美伤感图片
女生伤感图片
唯美意境图片
悲伤的图片
唯美意境伤感图片
只有字的伤感图片
说说图片
伤心的图片
美甲图片
图片大全
情感图片
微信头像男
动态壁纸
动漫配图
伤感图片
首页
>
书的制作流程图
书的制作流程图,书籍的制作过程图解
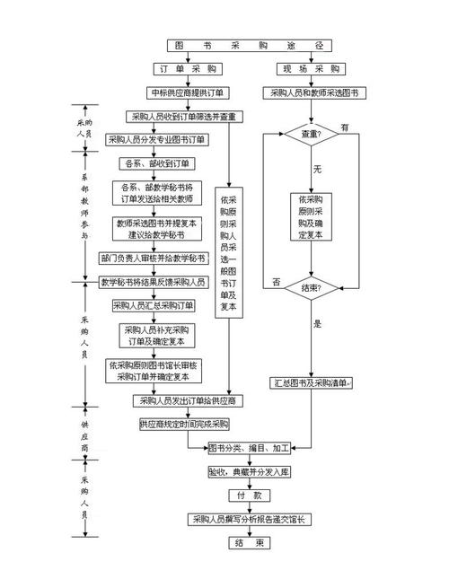
图书馆图书采购流程图
嘉定区图书馆公共文化服务流程图课题服务
招投标流程图
高校图书馆业务流程图&数据流程图
图书馆业务及数据流程图最新版doc7页
更多推荐
书籍的制作过程图解
书的制作过程
自制图书步骤图简易图
书的制作流程图二年级
纸的制作过程图片步骤
纸的制作流程图
制作流程图
书的制作
图书制作流程图片
书的制作过程思维导图
pcb板制作流程图解
流程图制作
流程图的图形说明
程序流程图
布书制作教程带图片
手工书制作教程
工作流程图
制作书
书签的制作
简单的书腰制作
流程图简单
制作小书
流程图怎么做
流程图
流程图模板
书卡制作简单
手工书制作
流程图设计
系统流程图
折叠书制作