首页
伤感说说
动漫配图
心情说说
抖音文案
伤感图片
伤感说说:
伤感的句子说说心情
空间说说
心情说说
爱情说说
女生伤感说说
人生感悟
心情不好的说说
说说带图片
关于生活的说说
说说心情短语
qq空间说说带图片
个性说说
励志名言
一句话经典语录
感悟人生的经典句子
短句吧
情感故事
抖音文案
伤感图片:
伤感图片带字
非主流伤感图片
唯美伤感图片
女生伤感图片
唯美意境图片
悲伤的图片
唯美意境伤感图片
只有字的伤感图片
说说图片
伤心的图片
美甲图片
图片大全
情感图片
微信头像男
动态壁纸
动漫配图
伤感图片
首页
>
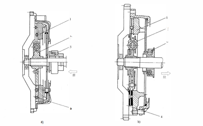
离合器压紧机构
离合器压紧机构,液压离合器
外及驾驶室中 (1)主动部分 : 1)发动机飞轮和压盘是离合器的
一种具有过载保护功能的链传动离合器的制作方法
每天30秒让你更懂汽车4离合器的功用及原理
当车主踩离合器时,压盘便会松开,此
摩擦片式离合器虽有传递大转矩,防止超载损坏起动机的优点
更多推荐
液压离合器
离合器的结构
离合器压盘
手动压紧机构
安全离合器机构简图
洗衣机离合器
摩擦离合器
离合器分离杠杆
滑动离合器
离合器总泵
压紧机构巧妙
离合器工作缸
离合器
离合器分泵
离合器内部
周布弹簧离合器
液压离合器工作原理
离合器位置
压紧机构
电磁离合器
自动离合器
离合器三件套
离合器踏板
弹簧压紧机构
单向离合器
离合器主缸
膜片弹簧离合器
磁粉离合器
汽车离合器
离合器的工作原理