首页
伤感说说
动漫配图
心情说说
抖音文案
伤感图片
伤感说说:
伤感的句子说说心情
空间说说
心情说说
爱情说说
女生伤感说说
人生感悟
心情不好的说说
说说带图片
关于生活的说说
说说心情短语
qq空间说说带图片
个性说说
励志名言
一句话经典语录
感悟人生的经典句子
短句吧
情感故事
抖音文案
伤感图片:
伤感图片带字
非主流伤感图片
唯美伤感图片
女生伤感图片
唯美意境图片
悲伤的图片
唯美意境伤感图片
只有字的伤感图片
说说图片
伤心的图片
美甲图片
图片大全
情感图片
微信头像男
动态壁纸
动漫配图
伤感图片
首页
>
热处理炉简图
热处理炉简图,热处理炉示意图
铝合金固溶热处理炉哪家做的比较好?
粉体热处理炉制造技术
热处理炉
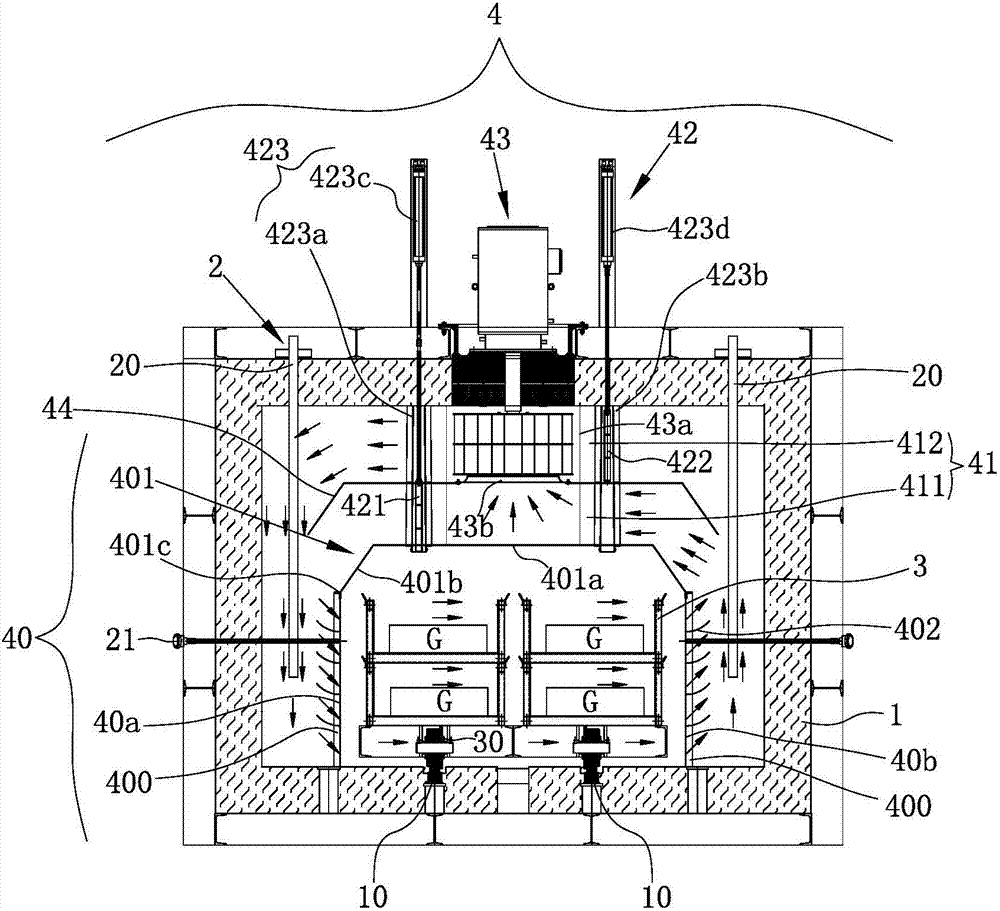
cn207619471u_一种航空或军用铝材专用变向喷流式热处理炉有效
真空技术网 真空系统 高温高真空热处理炉是现代冶金技术,现代真空
更多推荐
热处理炉示意图
热处理炉
热处理炉类型
大型热处理炉
真空热处理炉
连续式热处理炉
真空热处理炉结构图
台车式热处理炉
世界地图简图
简图图片
中国地图简图
简图手绘图
简图
机构简图
运动简图
长征路线图简图
黄河简图
简图黑白
简图人物
机构运动简图
洋流分布图简图记忆
简图绘画
大运河简图
简图唯美
心脏简图
简图卡通
简图伤感
消化系统结构简图
奥特曼漫画简图
小学生活我想知道简图