首页
伤感说说
动漫配图
心情说说
抖音文案
伤感图片
伤感说说:
伤感的句子说说心情
空间说说
心情说说
爱情说说
女生伤感说说
人生感悟
心情不好的说说
说说带图片
关于生活的说说
说说心情短语
qq空间说说带图片
个性说说
励志名言
一句话经典语录
感悟人生的经典句子
短句吧
情感故事
抖音文案
伤感图片:
伤感图片带字
非主流伤感图片
唯美伤感图片
女生伤感图片
唯美意境图片
悲伤的图片
唯美意境伤感图片
只有字的伤感图片
说说图片
伤心的图片
美甲图片
图片大全
情感图片
微信头像男
动态壁纸
动漫配图
伤感图片
首页
>
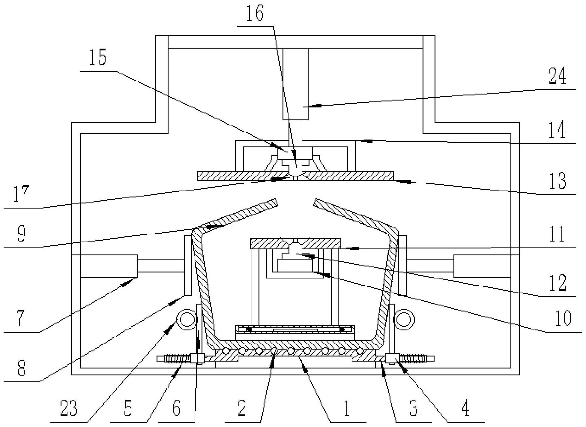
自动闭合装置
自动闭合装置,互动装置
立式包装盒自动插舌闭合装置的制作方法
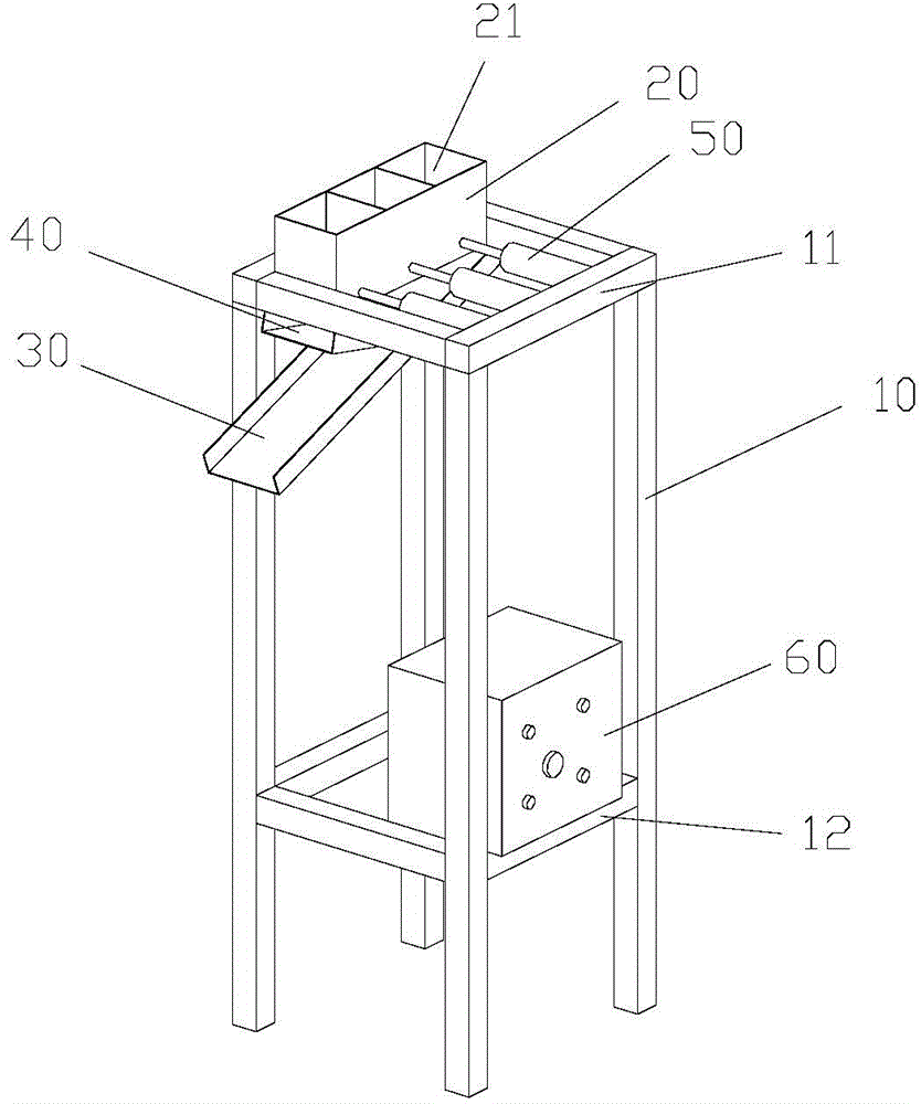
自动加料装置
一种自动张开与闭合的瓶盖装置制造方法及图纸
cn2176281y_密封式车箱的封闭门自动开闭装置失效
cn113001013a_一种型钢闭口在线闭合装置在审
更多推荐
互动装置
双电源自动切换装置
立体机动装置
闭合器
装置
闭合电路
闭合
闭合导线测量
闭合导线
抽滤装置
防倒吸装置
自动
抽滤装置图
回流装置
抽滤装置简图
接地装置
回流装置图
末端试水装置
闭合导线测量步骤图解
自动启停标志
自动插拔试验机
骨骺线闭合图
分馏装置图
蒸馏装置图
自动洗车机
自动驾驶
骨骺线闭合
蒸馏装置
自动上下料机
全自动洗车机