首页
伤感说说
动漫配图
心情说说
抖音文案
伤感图片
伤感说说:
伤感的句子说说心情
空间说说
心情说说
爱情说说
女生伤感说说
人生感悟
心情不好的说说
说说带图片
关于生活的说说
说说心情短语
qq空间说说带图片
个性说说
励志名言
一句话经典语录
感悟人生的经典句子
短句吧
情感故事
抖音文案
伤感图片:
伤感图片带字
非主流伤感图片
唯美伤感图片
女生伤感图片
唯美意境图片
悲伤的图片
唯美意境伤感图片
只有字的伤感图片
说说图片
伤心的图片
美甲图片
图片大全
情感图片
微信头像男
动态壁纸
动漫配图
伤感图片
首页
>
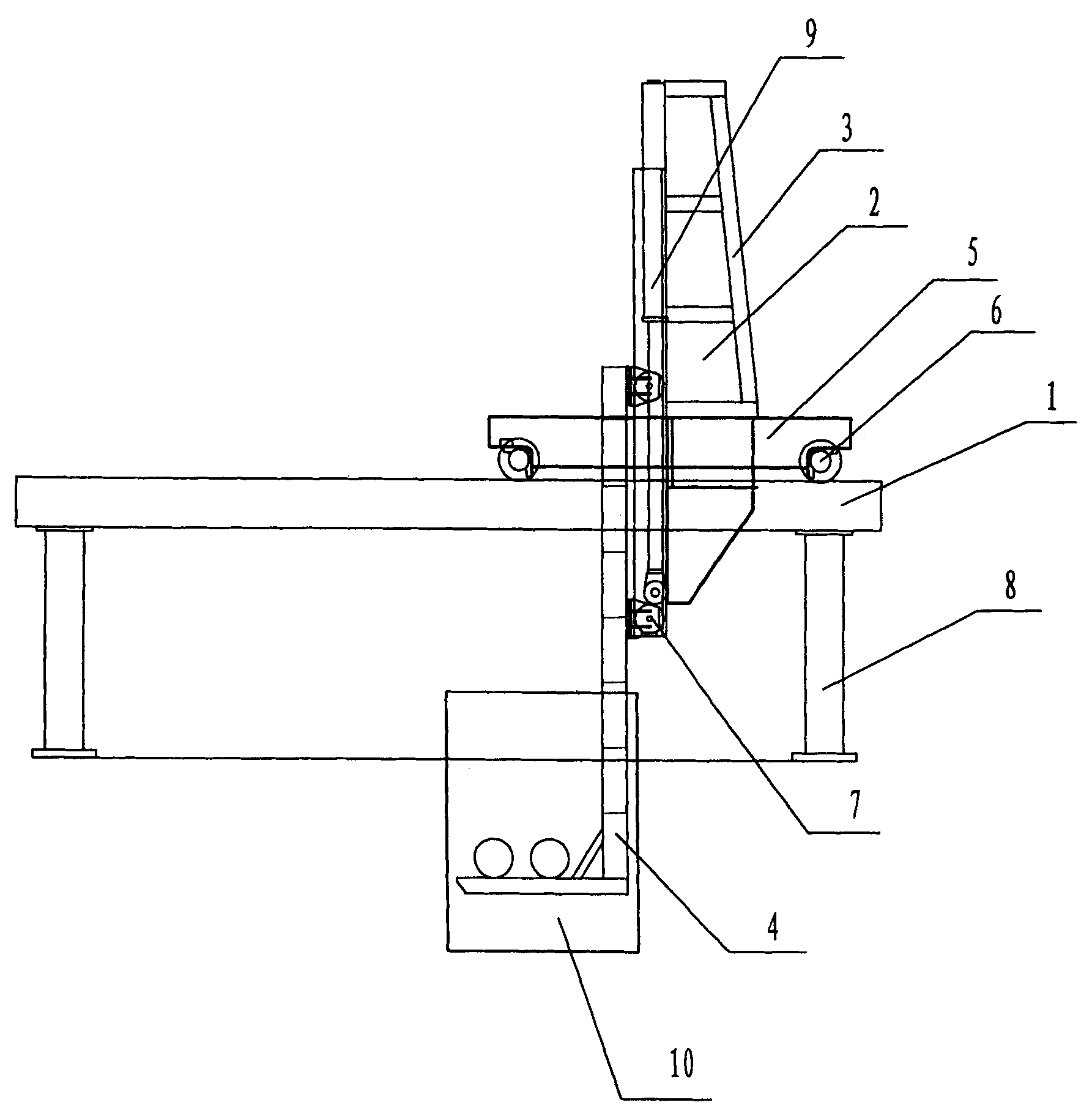
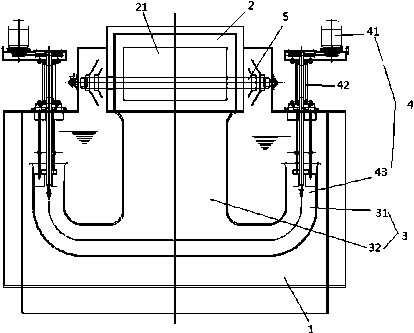
淬火装置
淬火装置,淬火
一种淬火装置
一种联轴器生产用淬火装置
【其他淬火装置图片】_其他淬火装置价格_其他淬火装置批发-马可波罗
cn107988468a_一种适用于等温淬火的装置在审
一种铝合金挤压生产的可调节水雾淬火装置制造方法及图纸
更多推荐
淬火
淬火设备
淬火工艺
淬火液
金属淬火
淬火刀
淬火炉
淬火蓝
古代淬火
淬火颜色
全蓝淬火
打铁淬火
宝剑淬火
淬火刀剑
淬火项链
刀具淬火
激光淬火
淬火图片
淬火温度图
表面淬火
真空淬火炉
装置
淬火颜色表
抽滤装置
回流装置
接地装置
反重力装置
蒸馏装置
全蓝淬火爪子刀
互动装置