首页
伤感说说
动漫配图
心情说说
抖音文案
伤感图片
伤感说说:
伤感的句子说说心情
空间说说
心情说说
爱情说说
女生伤感说说
人生感悟
心情不好的说说
说说带图片
关于生活的说说
说说心情短语
qq空间说说带图片
个性说说
励志名言
一句话经典语录
感悟人生的经典句子
短句吧
情感故事
抖音文案
伤感图片:
伤感图片带字
非主流伤感图片
唯美伤感图片
女生伤感图片
唯美意境图片
悲伤的图片
唯美意境伤感图片
只有字的伤感图片
说说图片
伤心的图片
美甲图片
图片大全
情感图片
微信头像男
动态壁纸
动漫配图
伤感图片
首页
>
一面两销定位夹具图
一面两销定位夹具图,一面两销夹具简图
翻转式钻模夹具图!求大神,,可以参照图片!
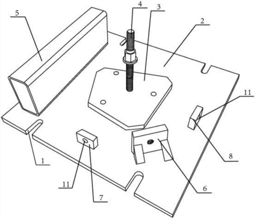
一种变型"一面两销"定位的夹具
12 将销隐藏后观察夹具的压块定位块的布置结构
一种定位夹具制造技术,一面两销定位夹具图专利_技高
圆柱定位销,菱形销,压板等组成,工件在夹具中采用一面两销定位,定位
更多推荐
一面两销夹具简图
一面两销定位原理图
一面两销定位图解
一面两销定位示意图
一面两销定位工序图
一面两销夹具设计
一面两销定位原理
一面两销定位
一面两销夹具图怎么画
圆锥销定位图
夹具装配图
快速夹具
夹具
各种夹具
夹具动图
专用夹具
通用夹具
风门的准确位置图定位
定位位置
夹具可调
夹具图片
今尾夹具
焊接夹具
夹具设计
定位
定位线
气动夹具
地图定位
定位图标
液压夹具