首页
伤感说说
动漫配图
心情说说
抖音文案
伤感图片
伤感说说:
伤感的句子说说心情
空间说说
心情说说
爱情说说
女生伤感说说
人生感悟
心情不好的说说
说说带图片
关于生活的说说
说说心情短语
qq空间说说带图片
个性说说
励志名言
一句话经典语录
感悟人生的经典句子
短句吧
情感故事
抖音文案
伤感图片:
伤感图片带字
非主流伤感图片
唯美伤感图片
女生伤感图片
唯美意境图片
悲伤的图片
唯美意境伤感图片
只有字的伤感图片
说说图片
伤心的图片
美甲图片
图片大全
情感图片
微信头像男
动态壁纸
动漫配图
伤感图片
首页
>
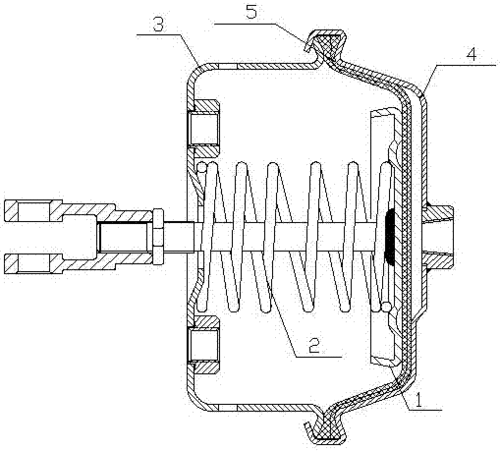
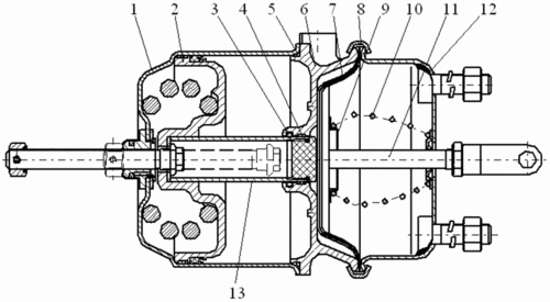
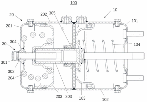
弹簧制动气室工作原理
弹簧制动气室工作原理,弹簧制动气室结构图
一种商用车制动系统膜片式弹簧制动气室
一种重型汽车制动系统弹簧储能制动气室
啮合式制动气室制造技术,美式双腔弹簧制动气室专利
一种无卡箍弹簧制动气室的制作方法
具有自锁式驻车机构的制动气室制造技术
更多推荐
弹簧制动气室结构图
弹簧气室的结构图
气弹簧工作原理动画
弹簧制动气室
气刹车工作原理
弹簧制动气室解剖图
水气联动阀工作原理
气刹分泵工作原理图
发动机工作原理
气动阀工作原理示意图
锁气卸灰装置工作原理
气撑杆的工作原理图
气液增压缸工作原理图
软启动器工作原理
气液混合泵工作原理图
预作用报警阀工作原理
气液分离器工作原理图
制动气室
液压马达的工作原理
内燃机工作原理
伺服电机工作原理
热继电器工作原理
液压机工作原理
离合器的工作原理
差速器工作原理
减压阀工作原理
发电机的工作原理
柱塞泵工作原理
继电器工作原理接线图