首页
伤感说说
动漫配图
心情说说
抖音文案
伤感图片
伤感说说:
伤感的句子说说心情
空间说说
心情说说
爱情说说
女生伤感说说
人生感悟
心情不好的说说
说说带图片
关于生活的说说
说说心情短语
qq空间说说带图片
个性说说
励志名言
一句话经典语录
感悟人生的经典句子
短句吧
情感故事
抖音文案
伤感图片:
伤感图片带字
非主流伤感图片
唯美伤感图片
女生伤感图片
唯美意境图片
悲伤的图片
唯美意境伤感图片
只有字的伤感图片
说说图片
伤心的图片
美甲图片
图片大全
情感图片
微信头像男
动态壁纸
动漫配图
伤感图片
首页
>
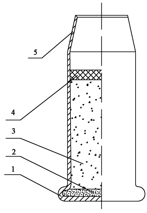
发令器的结构原理图
发令器的结构原理图,发令枪内部结构图
迷童报警器发射机电路图
发令器
主令控制器的结构示意图
cn202024686u_一种发令弹有效
基本触发器的逻辑结构和工作原理
更多推荐
发令枪内部结构图
发令枪结构原理图
双环发令枪解剖图
飞雁发令器结构图
原理图工作原理
发令器图片
老式二发发令器
发令器
冷凝器的作用及原理图
发令器专卖
发令器购买
双环发令器
发令器厂家
双速电机接线图原理图
原理图
左轮发令器专卖
发令器改造
左轮发令器
整流桥的作用和原理图
环球发令器
原理图实物
发令器改装
9013引脚图和原理图
ad原理图
简单原理图
液压原理图
体育发令器
双控开关原理图
plc接线原理图
飞雁发令器