首页
伤感说说
动漫配图
心情说说
抖音文案
伤感图片
伤感说说:
伤感的句子说说心情
空间说说
心情说说
爱情说说
女生伤感说说
人生感悟
心情不好的说说
说说带图片
关于生活的说说
说说心情短语
qq空间说说带图片
个性说说
励志名言
一句话经典语录
感悟人生的经典句子
短句吧
情感故事
抖音文案
伤感图片:
伤感图片带字
非主流伤感图片
唯美伤感图片
女生伤感图片
唯美意境图片
悲伤的图片
唯美意境伤感图片
只有字的伤感图片
说说图片
伤心的图片
美甲图片
图片大全
情感图片
微信头像男
动态壁纸
动漫配图
伤感图片
首页
>
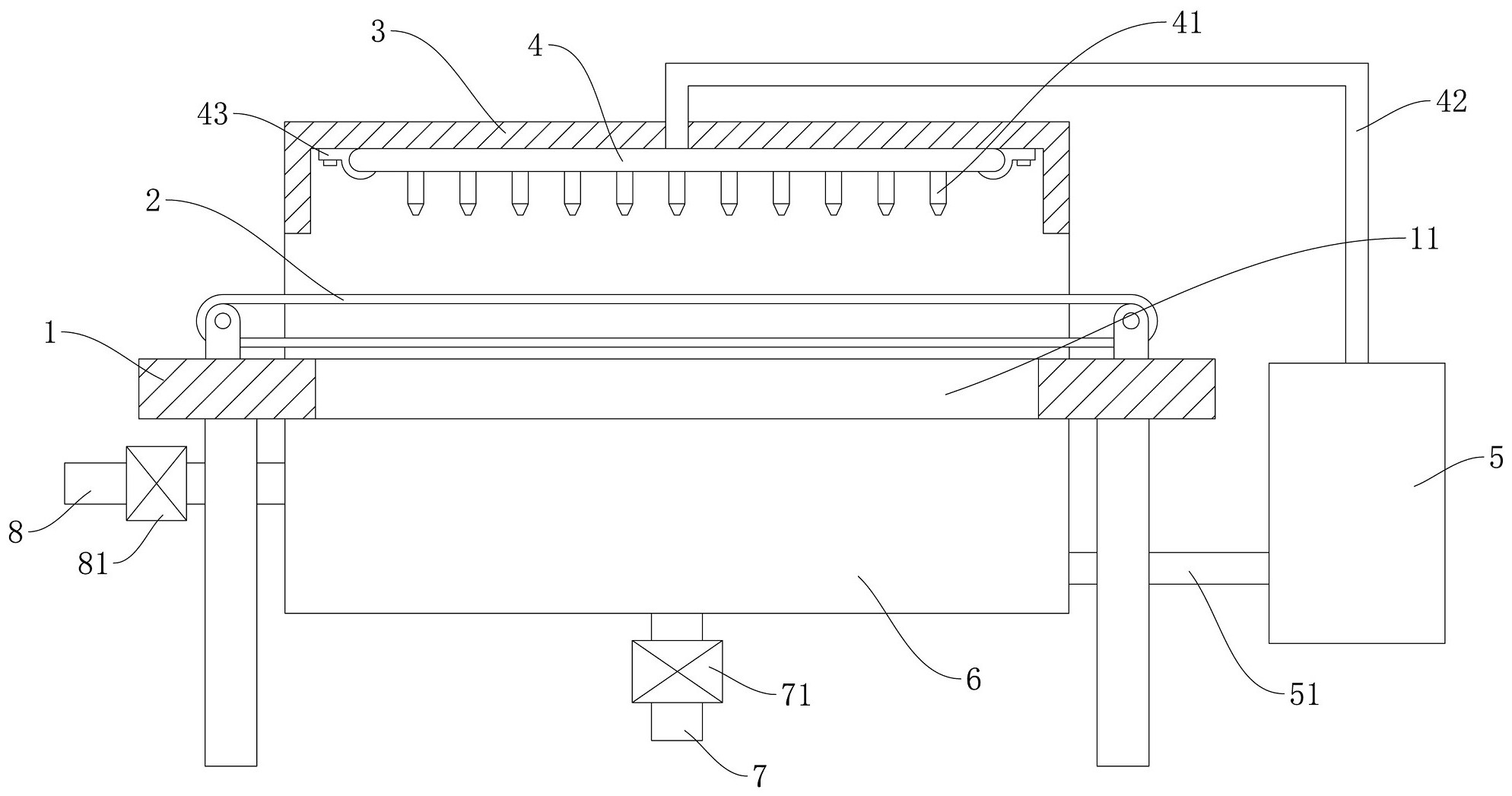
一种机械加工清洗装置
一种机械加工清洗装置,一些简单的机械装置
一种机械加工废铁屑清洗装置的制作方法
一种节水型土豆加工用机械清洗装置的制作方法
cn205833686u_一种加工中心用刀具保养清洗装置失效
本实用新型涉及一种木材加工设备,特别是涉及一种具有清洁装置的木材
机械零部件加工用清洗装置
更多推荐
一些简单的机械装置
机械装置
简单的机械装置
机械旋转装置
机械联锁装置
机械夹持装置
机械装置设计
机械90度旋转装置
机械搅拌装置
清洗装置结构图
机械快速锁紧装置
机械锁紧装置
胶球清洗装置
机械限位装置
护栏清洗装置
机械自锁装置
胶球清洗装置原理动图
胶球清洗装置动画演示
机械装置图片
机械装置艺术
防撞护栏清洗装置图纸
小型护栏清洗机
胶球清洗机
道路护栏清洗机
护栏清洗机
复杂的机械
齿轮装置
机械模型
机械固定方式有哪些
50个简单机械图纸