首页
伤感说说
动漫配图
心情说说
抖音文案
伤感图片
伤感说说:
伤感的句子说说心情
空间说说
心情说说
爱情说说
女生伤感说说
人生感悟
心情不好的说说
说说带图片
关于生活的说说
说说心情短语
qq空间说说带图片
个性说说
励志名言
一句话经典语录
感悟人生的经典句子
短句吧
情感故事
抖音文案
伤感图片:
伤感图片带字
非主流伤感图片
唯美伤感图片
女生伤感图片
唯美意境图片
悲伤的图片
唯美意境伤感图片
只有字的伤感图片
说说图片
伤心的图片
美甲图片
图片大全
情感图片
微信头像男
动态壁纸
动漫配图
伤感图片
首页
>
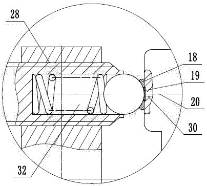
弹簧柱塞工作原理
弹簧柱塞工作原理,柱塞泵工作原理
供应按弹簧柱塞定位珠压入式柱塞同德国halder
柱塞泵工作原理及应用ppt
柱塞泵工作原理及应用ppt
x技术 最新专利 测量装置的制造及其应用技术 球头柱塞也叫弹簧柱塞
柴油机柱塞式高压油泵的工作原理,看完这篇必须懂
更多推荐
柱塞泵工作原理
柱塞阀工作原理动画
柱塞泵的工作原理图
柱塞变量泵工作原理图
柱塞泵工作原理动画
弹簧柱塞
弹簧柱塞作用示意图
减压阀工作原理
隔膜泵工作原理
离心泵的工作原理
液压机工作原理
热继电器工作原理
预作用报警阀工作原理
伺服电机工作原理
软启动器工作原理
发电机的工作原理
内燃机工作原理
液压马达的工作原理
发动机工作原理
差速器工作原理
芯片工作原理图解
晶体管工作原理
真空发生器工作原理
离合器的工作原理
热电偶工作原理
继电器工作原理接线图
压缩机工作原理
油水分离器工作原理
plc工作原理
空调工作原理