首页
伤感说说
动漫配图
心情说说
抖音文案
伤感图片
伤感说说:
伤感的句子说说心情
空间说说
心情说说
爱情说说
女生伤感说说
人生感悟
心情不好的说说
说说带图片
关于生活的说说
说说心情短语
qq空间说说带图片
个性说说
励志名言
一句话经典语录
感悟人生的经典句子
短句吧
情感故事
抖音文案
伤感图片:
伤感图片带字
非主流伤感图片
唯美伤感图片
女生伤感图片
唯美意境图片
悲伤的图片
唯美意境伤感图片
只有字的伤感图片
说说图片
伤心的图片
美甲图片
图片大全
情感图片
微信头像男
动态壁纸
动漫配图
伤感图片
首页
>
艾奇逊石墨化炉装炉
艾奇逊石墨化炉装炉,负极材料石墨化箱式炉
间歇石墨化是指石墨化过程中物料装炉后不移动,经过升温,石墨化,降温
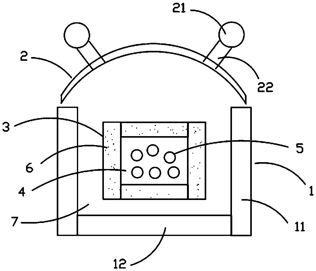
一种艾奇逊炉炉墙体的制作方法
acme/顶立科技 连续式碳化炉 碳化炉 高温石墨化
湖南艾普德有口皆碑 高温石墨化炉厂家 景德镇高温石墨化炉
艾奇逊石墨化炉
更多推荐
负极材料石墨化箱式炉
大直流石墨化炉
艾奇逊石墨化炉图片
石墨化炉
艾奇逊石墨化炉
艾奇逊石墨化炉原理
石墨化箱式炉
石墨化炉图片
高温石墨化炉
内串石墨化炉
卧式石墨化炉
连续式石墨化炉
艾奇逊炉
电极石墨化炉
碳纤维石墨化炉
湖南石墨化炉
石墨化
石墨化过程
石墨合成炉
石墨炉
艾奇逊
艾奇逊AA12
坩埚炉
艾奇逊AA-12
艾奇逊与中国
煅烧炉
迪安·艾奇逊
艾奇逊国务卿
艾奇逊一天总统
艾奇逊AA-12自动霰弹枪