首页
伤感说说
动漫配图
心情说说
抖音文案
伤感图片
伤感说说:
伤感的句子说说心情
空间说说
心情说说
爱情说说
女生伤感说说
人生感悟
心情不好的说说
说说带图片
关于生活的说说
说说心情短语
qq空间说说带图片
个性说说
励志名言
一句话经典语录
感悟人生的经典句子
短句吧
情感故事
抖音文案
伤感图片:
伤感图片带字
非主流伤感图片
唯美伤感图片
女生伤感图片
唯美意境图片
悲伤的图片
唯美意境伤感图片
只有字的伤感图片
说说图片
伤心的图片
美甲图片
图片大全
情感图片
微信头像男
动态壁纸
动漫配图
伤感图片
首页
>
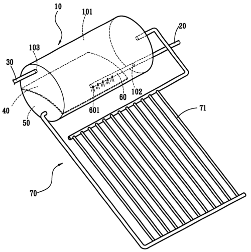
太阳能热水器结构图解
太阳能热水器结构图解,太阳能上下水管接法图
太阳能热水器结构图与运行原理(各类型太阳能热水器结构图文详解)
平板太阳能热水器
8评价我们的太阳能热水器∣教科版 (共16张ppt)
cn200975796y_太阳能热水器提升释水效率的改良储水桶结构失效
太阳雨太阳能安装图—太阳雨太阳能热水器的安装和图示
更多推荐
太阳能上下水管接法图
太阳能热水器怎么清洗
太阳能内胆里面构造图
太阳能结构
太阳能结构图
太阳能热水器尺寸图
太阳雨热水器结构图解
太阳能内胆
太阳能水箱内胆漏水图
太阳能热水器管
太阳能热水器水箱结构
太阳能热水器图解
太阳能保温桶结构图
太阳能热水器解剖图
太阳能热水循环安装图
太阳能下面两个孔图解
太阳能底部孔漏水图片
太阳能热水回水系统图
太阳能回水管安装图解
老式太阳能热水器图解
太阳能进水口出水口图
太阳能热水器原理
太阳能热水器原理图解
太阳能热水器怎么上水
太阳能热水器工作原理
太阳能热水器安装图
太阳能热水器水循环图
太阳能进水出水安装图
太阳能热水器溢流口图
太阳能进水口内部图