首页
伤感说说
动漫配图
心情说说
抖音文案
伤感图片
伤感说说:
伤感的句子说说心情
空间说说
心情说说
爱情说说
女生伤感说说
人生感悟
心情不好的说说
说说带图片
关于生活的说说
说说心情短语
qq空间说说带图片
个性说说
励志名言
一句话经典语录
感悟人生的经典句子
短句吧
情感故事
抖音文案
伤感图片:
伤感图片带字
非主流伤感图片
唯美伤感图片
女生伤感图片
唯美意境图片
悲伤的图片
唯美意境伤感图片
只有字的伤感图片
说说图片
伤心的图片
美甲图片
图片大全
情感图片
微信头像男
动态壁纸
动漫配图
伤感图片
首页
>
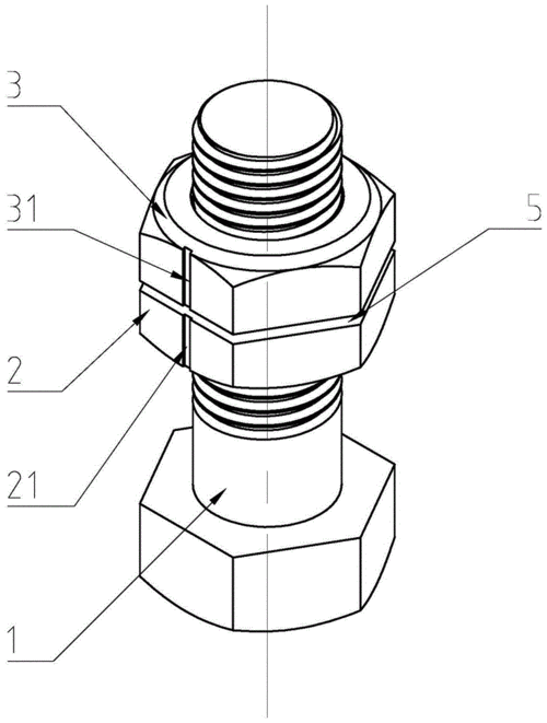
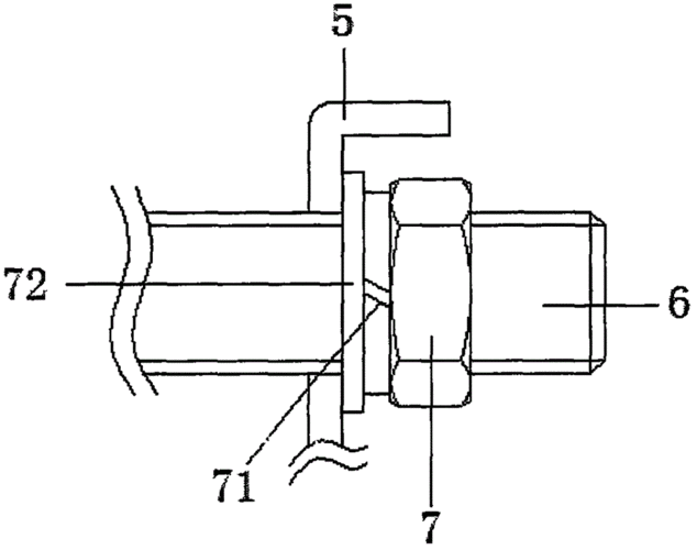
两平一弹双螺母安装图
两平一弹双螺母安装图,防松螺母安装图示
一种双密封电缆附件的制作方法
hg21573.2双头螺栓螺母
热溶双螺母治具
一种偏心式防松螺母组件的制作方法
(双螺母消回差的多种途径有图附说明.doc
更多推荐
防松螺母安装图示
自锁螺母安装图示
扣紧螺母的安装示意图
扣紧螺母安装图
卡式螺母安装示意图
防松螺母安装
圆螺母用止动垫圈安装
扣紧螺母安装方法图解
卡式螺母安装方法
双螺母防松原理图解
双螺母防松
机柜卡扣螺母安装方法
双螺母防松原理
圆螺母用止动垫圈规格
平开窗铰链安装示意图
防松螺母尺寸
外平开下悬窗安装图解
平开窗窗扇安装方法图
平开窗滑撑安装图解
圆螺母用止动垫圈
防松螺母
平开改内倒窗安装图解
防松螺母原理
卡式螺母
平开窗怎么安装
自锁螺母原理
卡套接头安装图解
平开窗铰链图解
窗户平开改内倒图解
平开窗图片设计图纸