首页
伤感说说
动漫配图
心情说说
抖音文案
伤感图片
伤感说说:
伤感的句子说说心情
空间说说
心情说说
爱情说说
女生伤感说说
人生感悟
心情不好的说说
说说带图片
关于生活的说说
说说心情短语
qq空间说说带图片
个性说说
励志名言
一句话经典语录
感悟人生的经典句子
短句吧
情感故事
抖音文案
伤感图片:
伤感图片带字
非主流伤感图片
唯美伤感图片
女生伤感图片
唯美意境图片
悲伤的图片
唯美意境伤感图片
只有字的伤感图片
说说图片
伤心的图片
美甲图片
图片大全
情感图片
微信头像男
动态壁纸
动漫配图
伤感图片
首页
>
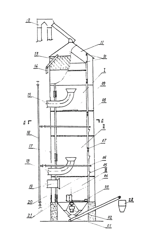
烘干塔工作原理示意图
烘干塔工作原理示意图,烘干塔内部结构图
烘干塔工作原理
cn2234078y_粮食烘干塔失效
茶籽烘干塔
粮食烘干塔
一种烘干塔用循环层总成的制作方法
更多推荐
烘干塔内部结构图
烘干塔工作原理
玉米烘干塔原理
烘干塔内部结构3d图解
烘干塔结构原理图
500吨玉米烘干塔详解
烘干塔内部剖面图
冷却塔工作原理示意图
气动阀工作原理示意图
隔膜泵工作原理示意图
气缸的工作原理示意图
空冷器工作原理示意图
空调工作原理示意图
计算机工作原理示意图
喷泉工作原理示意图
提升阀工作原理示意图
电动机工作原理示意图
取力器工作原理示意图
nmos工作原理示意图
吸尘器工作原理示意图
脉冲阀工作原理示意图
马桶工作原理示意图
望远镜工作原理示意图
煤粉炉工作原理示意图
汽油泵工作原理示意图
壁挂炉工作原理示意图
废气阀工作原理示意图
冷却塔工作原理图
芯片工作原理图解
继电器工作原理接线图