首页
伤感说说
动漫配图
心情说说
抖音文案
伤感图片
伤感说说:
伤感的句子说说心情
空间说说
心情说说
爱情说说
女生伤感说说
人生感悟
心情不好的说说
说说带图片
关于生活的说说
说说心情短语
qq空间说说带图片
个性说说
励志名言
一句话经典语录
感悟人生的经典句子
短句吧
情感故事
抖音文案
伤感图片:
伤感图片带字
非主流伤感图片
唯美伤感图片
女生伤感图片
唯美意境图片
悲伤的图片
唯美意境伤感图片
只有字的伤感图片
说说图片
伤心的图片
美甲图片
图片大全
情感图片
微信头像男
动态壁纸
动漫配图
伤感图片
首页
>
机床传动轴
机床传动轴,传动轴十字轴
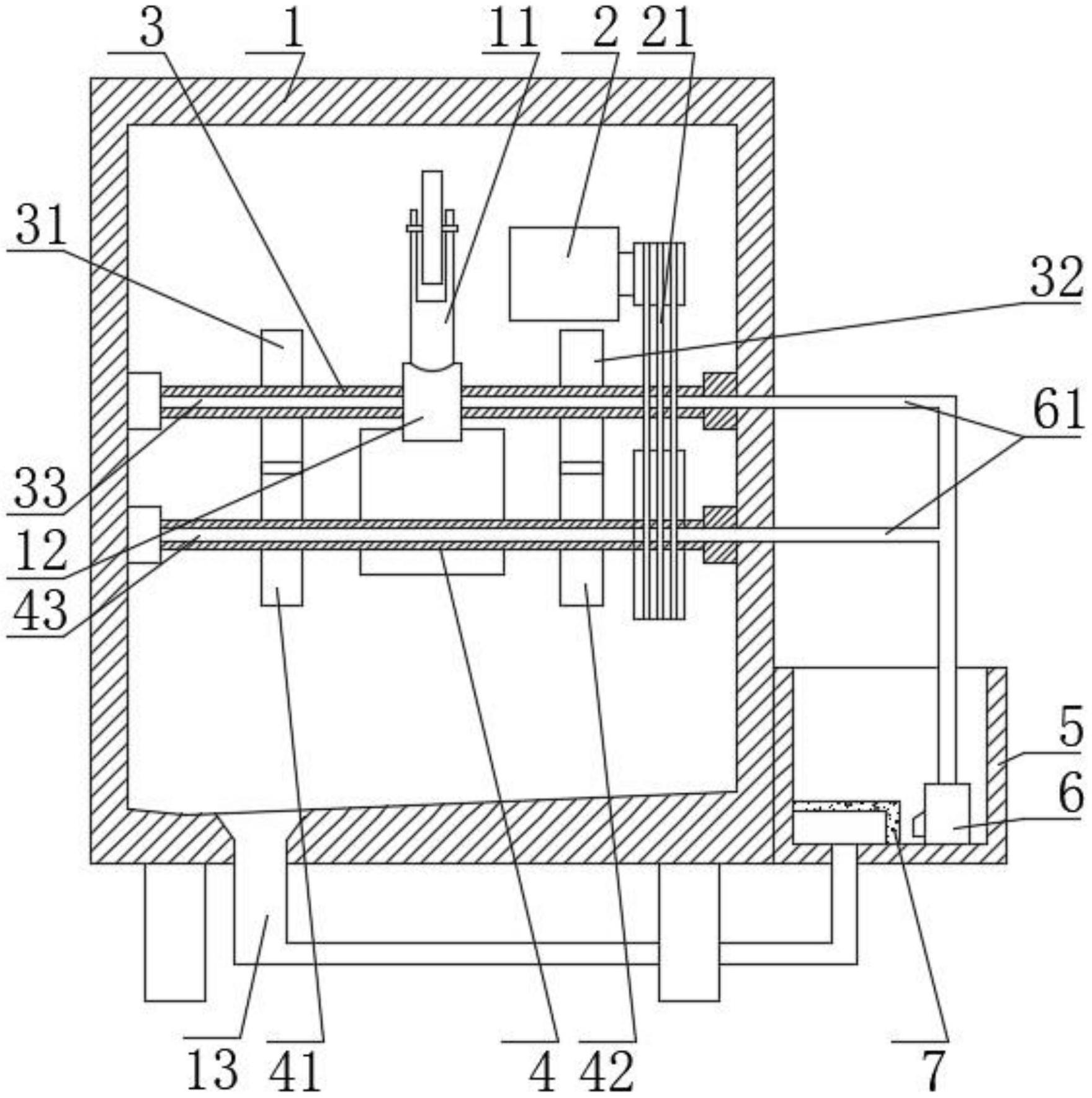
cn213618570u_一种新型精密机床传动轴结构有效
台州重型台钻配件z4132台式钻床主轴总成花键套齿轮轴套筒传动轴
自动车床离合轴 名阳离合轴6002a 传动轴 离合传动飞轮轴 轴心
特价销售输送机无动力滚筒 皮带输送机主动/被动轮传动轴
花键轴加工定制定做渐开线矩形花键套花键传动轴非标定做花键轴套
更多推荐
传动轴十字轴
传动轴动平衡
传动轴平衡机
传动轴
传动轴动态图
齿轮传动轴
机床主轴
传动轴总成
汽车传动轴
传动轴脱落
传动轴图片
传动轴自行车
传动轴结构图
传动轴分解图
传动轴零件图
传动轴摩托车
机床
机床导轨
传动轴部件名称图
普通机床
机床配件
机床维修
传动轴总成图片
机床夹具
精密机床
德马吉机床
汽车传动轴图片
汽车传动轴零件图
机床防护罩
线切割机床