首页
伤感说说
动漫配图
心情说说
抖音文案
伤感图片
伤感说说:
伤感的句子说说心情
空间说说
心情说说
爱情说说
女生伤感说说
人生感悟
心情不好的说说
说说带图片
关于生活的说说
说说心情短语
qq空间说说带图片
个性说说
励志名言
一句话经典语录
感悟人生的经典句子
短句吧
情感故事
抖音文案
伤感图片:
伤感图片带字
非主流伤感图片
唯美伤感图片
女生伤感图片
唯美意境图片
悲伤的图片
唯美意境伤感图片
只有字的伤感图片
说说图片
伤心的图片
美甲图片
图片大全
情感图片
微信头像男
动态壁纸
动漫配图
伤感图片
首页
>
微波炉构造
微波炉构造,微波炉构造图
微波炉有哪些组成结构微波炉结构解析
微波炉加热食物快的原因是什么?
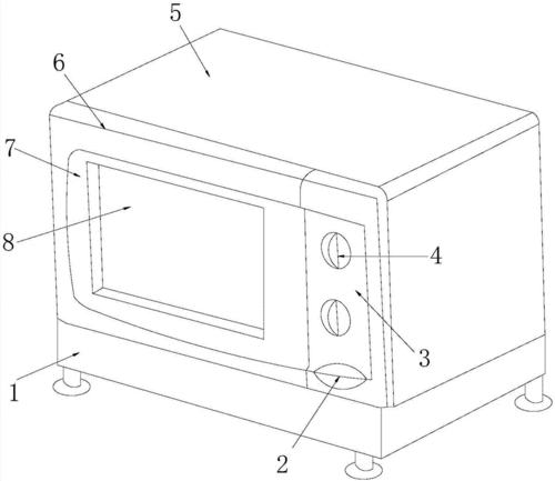
微波炉的防位移结构的制作方法
家用微波炉基础知识 微波炉加热原理
图解电磁炉压力锅微波炉内部结构及原理
更多推荐
微波炉构造图
电磁炉构造
微波炉工作原理图解
微波炉构造零件图解
微波炉工作原理
微波炉各个零件介绍图
微波炉配件大全
微波炉内部结构图详解
微波炉
美的微波炉
微波炉架
工业微波炉
微波炉图片
微波炉尺寸
微波炉面包
格兰仕微波炉
微波炉卡通
微波炉电路图
微波炉蛋糕
微波炉效果图
微波炉烤红薯
微波炉电路图解
微波炉价格表
微波炉热牛奶
可微波炉加热标志
微波炉图片高清
微波炉使用说明书
微波炉的使用方法图解
微波炉简笔画
美的微波炉价格表