首页
伤感说说
动漫配图
心情说说
抖音文案
伤感图片
伤感说说:
伤感的句子说说心情
空间说说
心情说说
爱情说说
女生伤感说说
人生感悟
心情不好的说说
说说带图片
关于生活的说说
说说心情短语
qq空间说说带图片
个性说说
励志名言
一句话经典语录
感悟人生的经典句子
短句吧
情感故事
抖音文案
伤感图片:
伤感图片带字
非主流伤感图片
唯美伤感图片
女生伤感图片
唯美意境图片
悲伤的图片
唯美意境伤感图片
只有字的伤感图片
说说图片
伤心的图片
美甲图片
图片大全
情感图片
微信头像男
动态壁纸
动漫配图
伤感图片
首页
>
金属屋面檐口
金属屋面檐口,屋面檐口
中式建筑屋面的檐口结构的制作方法
氟碳漆铝镁锰板 65-430 体育馆金属屋面
一种金属屋面檐口的连接装置的制作方法
北京金属天沟,檐口雨水槽,优质雨水方管专业定制
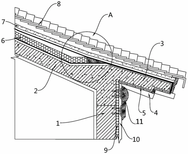
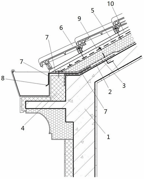
一种瓦屋面檐口节点防水构造的制作方法
更多推荐
屋面檐口
平屋面檐口
金属屋面剖面图
屋面檐口图片
屋面檐口檐沟天沟图片
金属屋面
金属屋面构造
檐口和檐沟
屋面檐口实物图片
金属屋面图集
双层金属屋面
矮立边金属屋面
金属屋面施工工艺
平屋顶檐口
金属屋面防水
金属屋面施工图
金属屋面施工方案
檐口
金属屋面安装
檐口构造
房屋檐口图片
檐口女儿墙
檐口标高
檐口详图
古建筑檐口
檐口板
檐口高度
金属屋面瓦图片
檐口线
檐口大样图