首页
伤感说说
动漫配图
心情说说
抖音文案
伤感图片
伤感说说:
伤感的句子说说心情
空间说说
心情说说
爱情说说
女生伤感说说
人生感悟
心情不好的说说
说说带图片
关于生活的说说
说说心情短语
qq空间说说带图片
个性说说
励志名言
一句话经典语录
感悟人生的经典句子
短句吧
情感故事
抖音文案
伤感图片:
伤感图片带字
非主流伤感图片
唯美伤感图片
女生伤感图片
唯美意境图片
悲伤的图片
唯美意境伤感图片
只有字的伤感图片
说说图片
伤心的图片
美甲图片
图片大全
情感图片
微信头像男
动态壁纸
动漫配图
伤感图片
首页
>
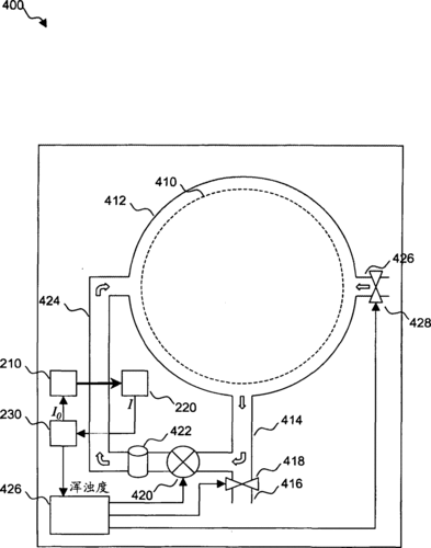
浑浊度传感器原理图
浑浊度传感器原理图,浊度传感器原理图
在线低功耗无线浊度传感器的制作方法
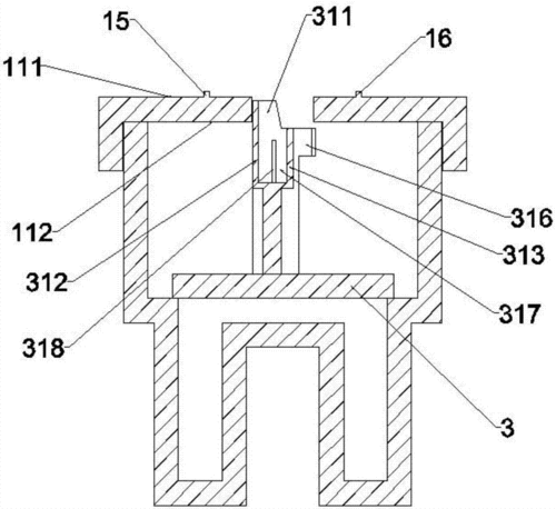
cn206505007u_一种带磁力驱动清洁刷的浊度传感器有效
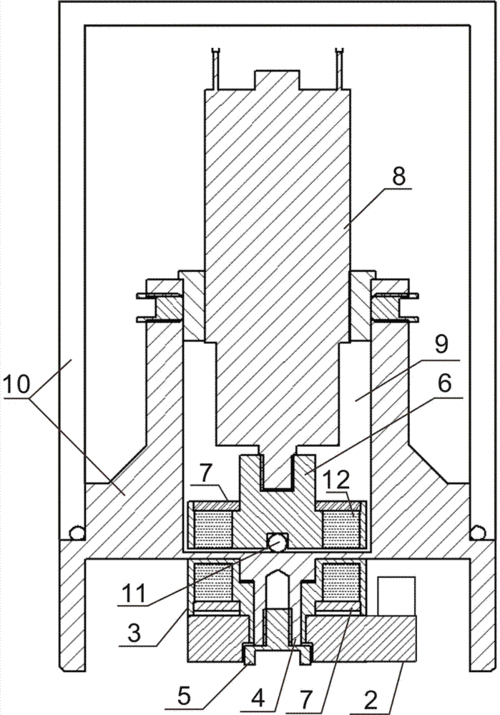
cn102224288a_浑浊度传感器有效
一种浊度传感器的制作方法
本发明的有益效果:与现有技术相比,本发明通过浊度传感器检测水的
更多推荐
浊度传感器原理图
浊度传感器工作原理图
浊度传感器电路原理图
浊度传感器电路图
温度传感器原理图
传感器原理图
浊度传感器流程图
水位传感器原理图
霍尔传感器原理图
光敏传感器原理图
浊度传感器
光电传感器原理图
油箱油位传感器原理图
压力传感器工作原理图
传感器原理
二线水温传感器原理图
三线霍尔传感器原理图
TS浊度传感器
洗衣机浊度传感器
霍尔传感器工作原理
原理图工作原理
传感器示意图
传感器电路图
盐度传感器
ts-300b浊度传感器
二线温度传感器接线图
传感器接线方法和图解
黏度传感器
传感器图片
原理图