首页
伤感说说
动漫配图
心情说说
抖音文案
伤感图片
伤感说说:
伤感的句子说说心情
空间说说
心情说说
爱情说说
女生伤感说说
人生感悟
心情不好的说说
说说带图片
关于生活的说说
说说心情短语
qq空间说说带图片
个性说说
励志名言
一句话经典语录
感悟人生的经典句子
短句吧
情感故事
抖音文案
伤感图片:
伤感图片带字
非主流伤感图片
唯美伤感图片
女生伤感图片
唯美意境图片
悲伤的图片
唯美意境伤感图片
只有字的伤感图片
说说图片
伤心的图片
美甲图片
图片大全
情感图片
微信头像男
动态壁纸
动漫配图
伤感图片
首页
>
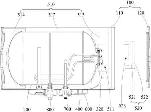
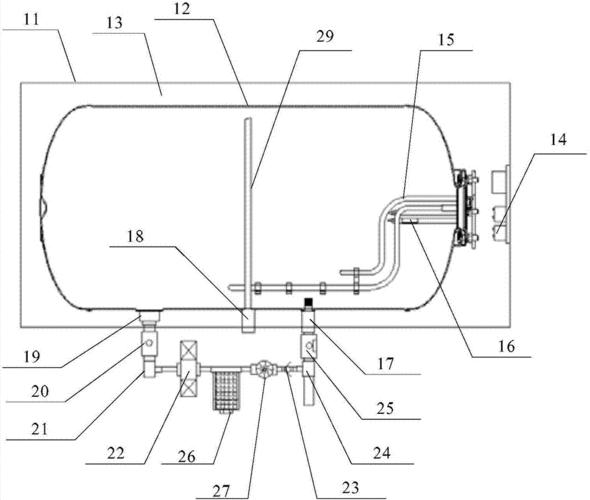
储水式电热水器结构
储水式电热水器结构,电热水器内部构造图
储水式电热水器为什么会产生出水垢?
一种储水式电热水器及其控制方法技术
储水式电热水器的制作方法
储水式电热水器制造技术
skg5001热水器40升 储水式速热电热水器【包邮 入户安装】经典畅销
更多推荐
电热水器内部构造图
储水式电热水器解剖图
储水式电热水器拆卸图
储水式电热水器结构图
立式储水式电热水器
储水式电热水器原理
储水式电热水器
储水式电热水器图片
万和储水式电热水器
储水式电热水器内胆
储水式电热水器怎么用
储水式电热水器原理图
储水式电热水器的安装
电热水器结构
储水式电热水器安装图
储水式电热水器接线图
储水式电热水器安全阀
储水式电热水器增压泵
储水式电热水器线路图
电热水器出水口结构图
储水式电热水器剖面图
万家乐储水式电热水器
海尔电热水器结构
即热式电热水器
储水热水器怎么放水
储水热水器
热水器结构
电热水器构造图
半球储水热水器
电热水器结构解剖图