首页
伤感说说
动漫配图
心情说说
抖音文案
伤感图片
伤感说说:
伤感的句子说说心情
空间说说
心情说说
爱情说说
女生伤感说说
人生感悟
心情不好的说说
说说带图片
关于生活的说说
说说心情短语
qq空间说说带图片
个性说说
励志名言
一句话经典语录
感悟人生的经典句子
短句吧
情感故事
抖音文案
伤感图片:
伤感图片带字
非主流伤感图片
唯美伤感图片
女生伤感图片
唯美意境图片
悲伤的图片
唯美意境伤感图片
只有字的伤感图片
说说图片
伤心的图片
美甲图片
图片大全
情感图片
微信头像男
动态壁纸
动漫配图
伤感图片
首页
>
日光灯简笔画
日光灯简笔画,日光灯卡通
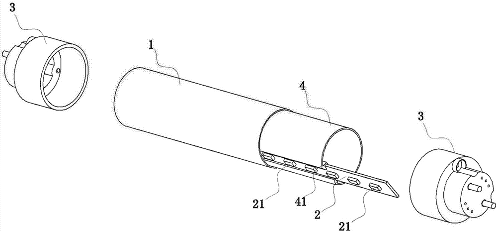
一种条纹型led日光灯管
一种日光灯的制作方法
一种防触电灯管堵头及日光灯制造技术
leso雷烁紧凑型节能荧光灯15w螺旋光源e27螺口纯三基色节能灯特价
怎样画简笔画聚光灯?
更多推荐
日光灯卡通
现代简笔画
吸顶灯简笔画
落地灯简笔画
日光灯老式
日光灯怎么画简笔画
筒灯简笔画
日光灯简笔画图片
节能灯简笔画
吊扇简笔画
白炽灯简笔画
LED灯简笔画
节日简笔画
简笔画
人物简笔画
风景简笔画
简笔画可爱
卡通简笔画
日光灯图片
服饰简笔画
建筑简笔画
用户作品简笔画
动物简笔画
日光灯管
日光灯
人物简笔画眼睛
日光灯接线图
植物简笔画
日光灯实物
生活用品简笔画