首页
伤感说说
动漫配图
心情说说
抖音文案
伤感图片
伤感说说:
伤感的句子说说心情
空间说说
心情说说
爱情说说
女生伤感说说
人生感悟
心情不好的说说
说说带图片
关于生活的说说
说说心情短语
qq空间说说带图片
个性说说
励志名言
一句话经典语录
感悟人生的经典句子
短句吧
情感故事
抖音文案
伤感图片:
伤感图片带字
非主流伤感图片
唯美伤感图片
女生伤感图片
唯美意境图片
悲伤的图片
唯美意境伤感图片
只有字的伤感图片
说说图片
伤心的图片
美甲图片
图片大全
情感图片
微信头像男
动态壁纸
动漫配图
伤感图片
首页
>
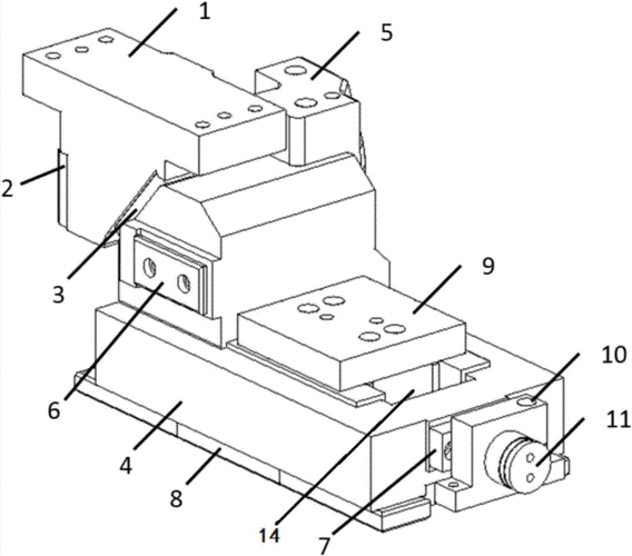
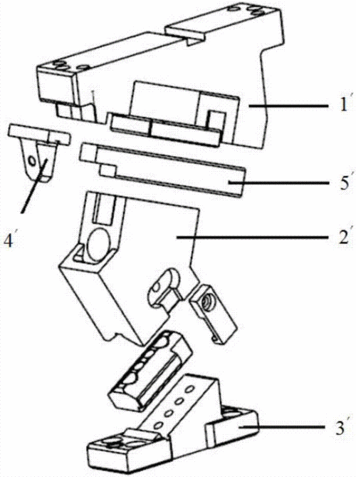
斜楔运动机构图解
斜楔运动机构图解,斜楔机构运动
一种新型侧翻边斜楔机构制造技术
汽车覆盖件特殊组合式紧凑型斜楔机构
《斜楔夹紧机构》ppt课件.ppt
cn105108516a_斜楔夹紧机构失效
吊装斜楔机构制造技术
更多推荐
斜楔机构运动
斜楔机构运动动画
斜楔滑块机构图解
运动动作图片图解
斜楔滑块机构运动简图
简单机械机构运动简图
机构运动简图
各种机构运动简图
全身运动动作图解
剪床机构运动简图
平面机构运动简图
缝纫机机构运动简图
运动机构
体转运动动作图解
机构运动简图例题
齿轮机构运动简图
斜楔机构示意图
腹背运动动作图解
铆钉机构运动简图
机构运动简图绘制
体侧运动图解
机构运动简图画法
往复运动机构
机构运动简图符号
圆运动图解
机构运动简图的测绘
体转运动图解
差动轮系机构运动简图
正弦机构运动简图
常见机构运动简图大全