首页
伤感说说
动漫配图
心情说说
抖音文案
伤感图片
伤感说说:
伤感的句子说说心情
空间说说
心情说说
爱情说说
女生伤感说说
人生感悟
心情不好的说说
说说带图片
关于生活的说说
说说心情短语
qq空间说说带图片
个性说说
励志名言
一句话经典语录
感悟人生的经典句子
短句吧
情感故事
抖音文案
伤感图片:
伤感图片带字
非主流伤感图片
唯美伤感图片
女生伤感图片
唯美意境图片
悲伤的图片
唯美意境伤感图片
只有字的伤感图片
说说图片
伤心的图片
美甲图片
图片大全
情感图片
微信头像男
动态壁纸
动漫配图
伤感图片
首页
>
折叠凳的制作图解
折叠凳的制作图解,折叠凳子做法图解
厂价直销小方凳 楠竹凳子 竹木凳子 洗脚凳 木方凳 木折叠凳
【尚易沃格】简易折叠凳子便携型常规高度45cm户外钓鱼凳不怕日晒雨淋
厂价批发楠竹折叠凳 钓鱼小凳 小方凳 竹制凳子制品家具竹木凳子
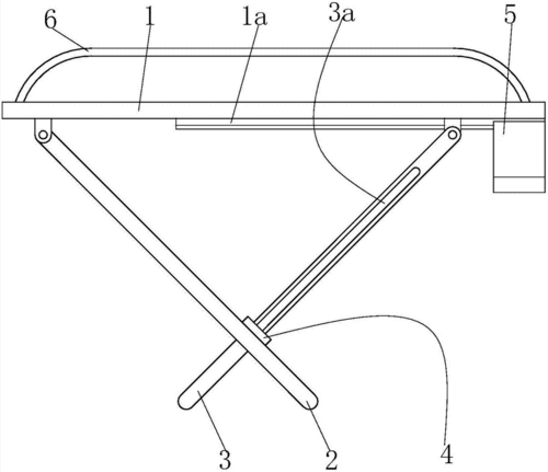
一种便携式折叠凳的制作方法
金属管户外折叠椅钓鱼凳子 钓鱼马扎家用马扎折叠凳子大小号
更多推荐
折叠凳子做法图解
自制折叠桌子制作图解
折叠板凳结构图片大全
折叠凳图纸
折叠木凳子简单制作图
木制折叠凳制作图解
折叠椅制作图纸
自制折叠凳子尺寸图
折叠小板凳制作方法
书签的制作
制作
100个简单的手工小制作
手工小制作
小制作
照片拼图制作
辣条的制作方法
书签制作简单漂亮图片
小发明,小制作
相册制作
科学小制作
书签制作小学生
简历制作
ppt制作
成长手册制作图片大全
领带打法图解最简单
表格制作
桥架制作大全
魔方教程一步一步图解
表情包制作
绘本制作