首页
伤感说说
动漫配图
心情说说
抖音文案
伤感图片
伤感说说:
伤感的句子说说心情
空间说说
心情说说
爱情说说
女生伤感说说
人生感悟
心情不好的说说
说说带图片
关于生活的说说
说说心情短语
qq空间说说带图片
个性说说
励志名言
一句话经典语录
感悟人生的经典句子
短句吧
情感故事
抖音文案
伤感图片:
伤感图片带字
非主流伤感图片
唯美伤感图片
女生伤感图片
唯美意境图片
悲伤的图片
唯美意境伤感图片
只有字的伤感图片
说说图片
伤心的图片
美甲图片
图片大全
情感图片
微信头像男
动态壁纸
动漫配图
伤感图片
首页
>
飞机脚踏板打开图解
飞机脚踏板打开图解,飞机小桌板打开图解
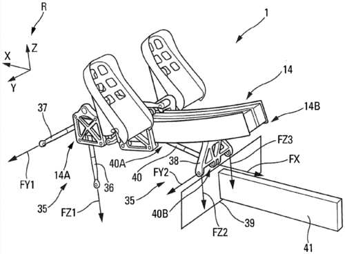
本实用新型的轻型运动飞机的方向舵操纵系统采用脚蹬组件进行操纵
飞机操纵机构 简易的
写美篇 确认旅客系好安全带,收直椅得,收好小桌板,脚踏板,旅客
你最了解哪一架小型飞机?能不能详细说一下它的一些参数,和一些特点?
用于航空器的曲线型方向舵脚蹬和包括该曲线型方向舵脚蹬的航空器制造
更多推荐
飞机小桌板打开图解
飞机遮光板打开图解
脚踏板图片图解
飞机行李架开启图解
飞机卫生间门打开图解
高铁二等座脚踏板图解
飞机行李舱打开步骤
飞机行李架怎么打开
汽车脚踏板示意图
坐飞机行李架打开教程
脚踏板图片
汽车脚踏板图片
自动挡脚踏板位置图
手动挡脚踏板位置图
缝纫机脚踏板
飞机安全带怎么打开
飞机座位下放行李图解
自行车脚踏板图片
解飞机安全带步骤图片
工地脚踏板图片
脚踏板
脚踏板怎么安装
特斯拉脚踏板图片
飞机厕所怎么冲水图解
脚踏板钢格板
汽车脚踏板
高铁脚踏板
自行车脚踏板安装
飞机厕所开门教程
飞机座位分布图