首页
伤感说说
动漫配图
心情说说
抖音文案
伤感图片
伤感说说:
伤感的句子说说心情
空间说说
心情说说
爱情说说
女生伤感说说
人生感悟
心情不好的说说
说说带图片
关于生活的说说
说说心情短语
qq空间说说带图片
个性说说
励志名言
一句话经典语录
感悟人生的经典句子
短句吧
情感故事
抖音文案
伤感图片:
伤感图片带字
非主流伤感图片
唯美伤感图片
女生伤感图片
唯美意境图片
悲伤的图片
唯美意境伤感图片
只有字的伤感图片
说说图片
伤心的图片
美甲图片
图片大全
情感图片
微信头像男
动态壁纸
动漫配图
伤感图片
首页
>
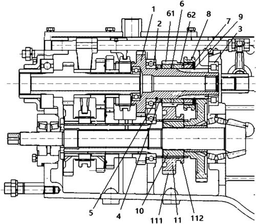
拖拉机变速箱结构图
拖拉机变速箱结构图,拖拉机后桥总成分解图
图解道依茨法尔2604拖拉机变速箱专业维修全过程!
cl200小型农用四轮拖拉机变速箱
拖拉机变速箱是拖拉机的关键部件之一 ,和后桥 ,动力
中马力拖拉机变速箱传动装置
履带拖拉机变速器改进设计 Ⅳ
更多推荐
拖拉机后桥总成分解图
手扶拖拉机变速箱图解
手扶拖拉机变速箱原理
12拖拉机变速箱拆装图
拖拉机变速箱图纸
拖拉机变速箱拆装图
农用小四轮变速箱后桥
1804拖拉机
手扶拖拉机齿轮箱图解
拖拉机变速箱有几种
手扶拖拉机变速箱维修
农机拖拉机变速箱大全
雷沃554变速箱全图
拖拉机变速箱安装图解
拖拉机变速箱
拖拉机变速箱分解图
四轮拖拉机变速箱图解
东方红变速箱维修图
单缸小四轮变速箱图解
农用四轮车后桥图解
东方红拖拉机后桥图解
黄海金马变速箱安装图
小四轮六档齿轮图
天拖720变速箱说明图
手扶拖拉机变速箱组装
雷沃704后桥解剖图
404拖拉机变速箱分解图
手扶拖拉机变速箱图纸
四轮变速箱齿轮全景图
拖拉机变速箱图解