首页
伤感说说
动漫配图
心情说说
抖音文案
伤感图片
伤感说说:
伤感的句子说说心情
空间说说
心情说说
爱情说说
女生伤感说说
人生感悟
心情不好的说说
说说带图片
关于生活的说说
说说心情短语
qq空间说说带图片
个性说说
励志名言
一句话经典语录
感悟人生的经典句子
短句吧
情感故事
抖音文案
伤感图片:
伤感图片带字
非主流伤感图片
唯美伤感图片
女生伤感图片
唯美意境图片
悲伤的图片
唯美意境伤感图片
只有字的伤感图片
说说图片
伤心的图片
美甲图片
图片大全
情感图片
微信头像男
动态壁纸
动漫配图
伤感图片
首页
>
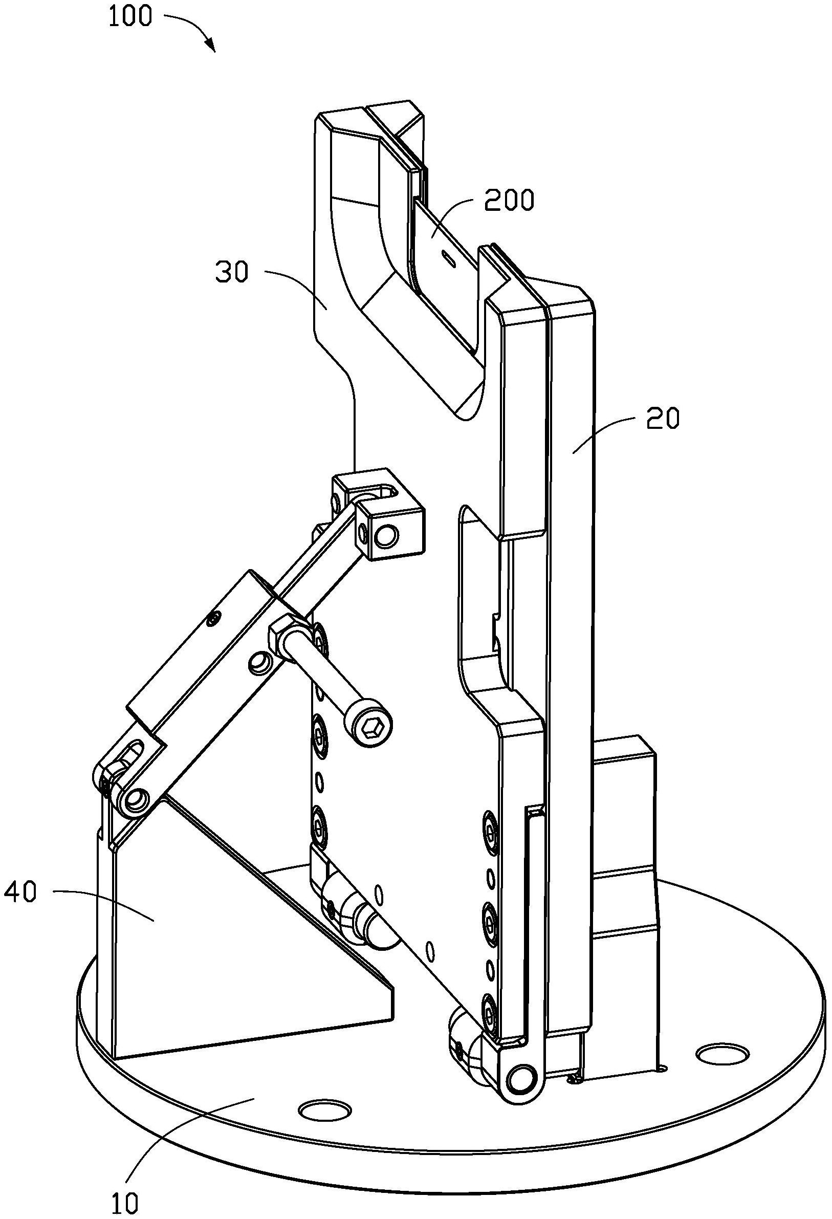
自动夹持装置
自动夹持装置,夹持器
一种制服带柄扣自动钉扣机的夹紧压扣及割线装置制造方法及图纸
cn103696709a_一种上开口增力自动定心夹持装置有效
一种用于晶体拆卸的自动定心夹持装置的制作方法
机器人码垛夹持器
cn212635402u_夹持装置
更多推荐
夹持器
自动夹头和手动夹头
小型自动夹持装置
自动夹爪器
夹持固定装置
机械夹持装置
自动夹持机构
互动装置
双电源自动切换装置
装置
液压夹持器
机械联锁装置
夹持结构动图
机械固定装置
立体机动装置
抽滤装置图
简易固定装置
夹持机械动图
机械夹持器
抽滤装置
快速固定装置
接地装置
自动
夹持固定结构
气缸夹持机构
爆破片夹持器
钻机夹持器
夹持结构
抽滤装置简图
钻杆夹持器