首页
伤感说说
动漫配图
心情说说
抖音文案
伤感图片
伤感说说:
伤感的句子说说心情
空间说说
心情说说
爱情说说
女生伤感说说
人生感悟
心情不好的说说
说说带图片
关于生活的说说
说说心情短语
qq空间说说带图片
个性说说
励志名言
一句话经典语录
感悟人生的经典句子
短句吧
情感故事
抖音文案
伤感图片:
伤感图片带字
非主流伤感图片
唯美伤感图片
女生伤感图片
唯美意境图片
悲伤的图片
唯美意境伤感图片
只有字的伤感图片
说说图片
伤心的图片
美甲图片
图片大全
情感图片
微信头像男
动态壁纸
动漫配图
伤感图片
首页
>
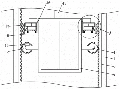
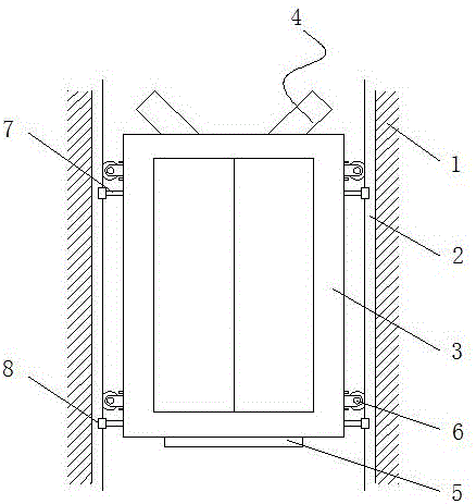
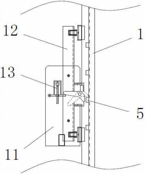
电梯防坠落装置
电梯防坠落装置,扶梯防坠落装置
一种电梯防坠落装置及电梯的制作方法
cn101698448a_无机房电梯轿顶检修平台防落装置失效
一种电乘客电梯防坠落装置的制作方法
一种防坠落锁定结构制造技术
防坠落安全装置
更多推荐
扶梯防坠落装置
提升机防坠落装置
防坠落装置与升降设备
电梯防下坠安全装置
扶梯防坠落护栏
防坠落装置有哪些
施工电梯防坠落装置
电梯防坠落装置原理图
电梯安全钳
施工电梯防坠器图片
电梯防坠落装置图片
防坠落装置
电梯防撞装置
电梯防电动车进入装置
电梯导向装置
电梯平层装置
电梯补偿装置
电梯门锁装置
电梯平层装置安装图
电梯悬挂装置
施工电梯防坠器
电梯防撞装置图片
电梯称重装置
电梯称重装置安装图
电梯防电动车进入
电梯补偿链导向装置
电梯补偿装置图片
电梯防护板
加装电梯
电梯防撞