首页
伤感说说
动漫配图
心情说说
抖音文案
伤感图片
伤感说说:
伤感的句子说说心情
空间说说
心情说说
爱情说说
女生伤感说说
人生感悟
心情不好的说说
说说带图片
关于生活的说说
说说心情短语
qq空间说说带图片
个性说说
励志名言
一句话经典语录
感悟人生的经典句子
短句吧
情感故事
抖音文案
伤感图片:
伤感图片带字
非主流伤感图片
唯美伤感图片
女生伤感图片
唯美意境图片
悲伤的图片
唯美意境伤感图片
只有字的伤感图片
说说图片
伤心的图片
美甲图片
图片大全
情感图片
微信头像男
动态壁纸
动漫配图
伤感图片
首页
>
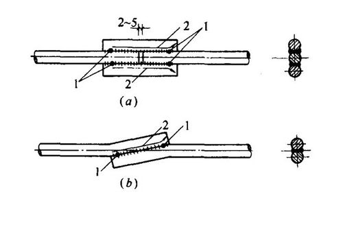
单面帮条焊图片
单面帮条焊图片,搭接焊图片
帮条焊
钢筋双面焊是什么意思
钢筋单面帮条焊接施工
什么叫钢筋帮条焊接
帮条焊焊缝厚度尺寸s不得小于主筋直径的0.
更多推荐
搭接焊图片
单面帮条焊
双面焊接图片
单面焊和双面焊示意图
双面搭接焊图片
钢筋双面搭接焊
单面搭接焊图片
帮条焊
帮条焊图片
单面焊和双面焊图片
双面焊和单面焊的图片
单面焊图片
钢筋焊接单面焊图片
单面焊和双面焊区别图
单面焊和双面焊
钢筋帮条焊图片
帮条焊搭接图片
熔槽帮条焊图片
单面焊和双面焊区别
帮焊图片
双面焊图片
单面刀片图片
单面焊接实物图
帮条焊和搭接焊实物图
帮条焊实物图
单面焊
单面搭接焊示意图
搭接焊和帮条焊区别
单面针图片
单面搭接焊