首页
伤感说说
动漫配图
心情说说
抖音文案
伤感图片
伤感说说:
伤感的句子说说心情
空间说说
心情说说
爱情说说
女生伤感说说
人生感悟
心情不好的说说
说说带图片
关于生活的说说
说说心情短语
qq空间说说带图片
个性说说
励志名言
一句话经典语录
感悟人生的经典句子
短句吧
情感故事
抖音文案
伤感图片:
伤感图片带字
非主流伤感图片
唯美伤感图片
女生伤感图片
唯美意境图片
悲伤的图片
唯美意境伤感图片
只有字的伤感图片
说说图片
伤心的图片
美甲图片
图片大全
情感图片
微信头像男
动态壁纸
动漫配图
伤感图片
首页
>
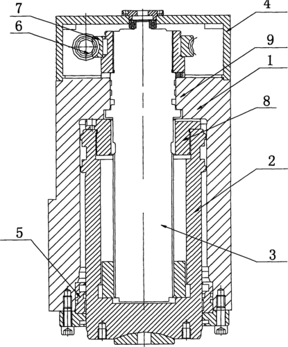
液压缸分解图
液压缸分解图,地牛液压缸分解图
四工位双作用液压缸制造技术
一,液压油缸分解图(示例品)
液压缸
cn101956743a_液压折弯机油缸失效
第二节 典型液压缸结构ppt
更多推荐
地牛液压缸分解图
液压缸拆解图
液压油缸图解
液压缸图
液压缸示意图
液压缸结构图
液压缸装配图
液压缸三维图
液压缸零件图
液压缸图纸
液压缸简图
液压缸内部结构图
手动液压缸结构图
液压缸
液压缸装配图和零件图
液压缸型号大全图
液压缸结构
液压缸装配图高清
液压缸cad图
差动液压缸
液压缸密封
液压缸型号
液压缸图形符号
液压车压不起来图解
双作用液压缸
单作用液压缸
液压缸符号
地牛液压缸工作原理图
液压油缸油封安装图
分十法分解式图