首页
伤感说说
动漫配图
心情说说
抖音文案
伤感图片
伤感说说:
伤感的句子说说心情
空间说说
心情说说
爱情说说
女生伤感说说
人生感悟
心情不好的说说
说说带图片
关于生活的说说
说说心情短语
qq空间说说带图片
个性说说
励志名言
一句话经典语录
感悟人生的经典句子
短句吧
情感故事
抖音文案
伤感图片:
伤感图片带字
非主流伤感图片
唯美伤感图片
女生伤感图片
唯美意境图片
悲伤的图片
唯美意境伤感图片
只有字的伤感图片
说说图片
伤心的图片
美甲图片
图片大全
情感图片
微信头像男
动态壁纸
动漫配图
伤感图片
首页
>
油缸进出油口示意图
油缸进出油口示意图,油缸进出油原理图
液压油缸压力回转动力小的解决方法
其两端进出口 油口a 都可通压力游牡低 所有分类 工程科技 机械/仪表
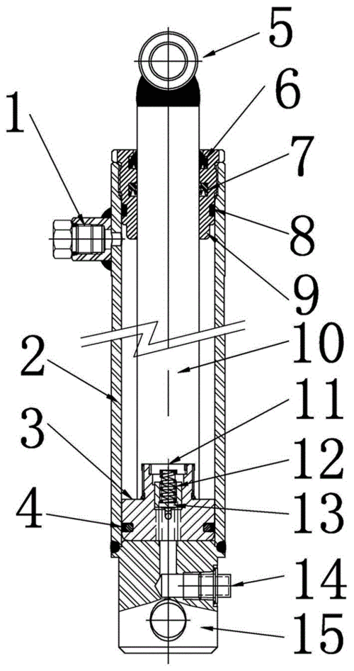
一种内置安全阀的液压油缸的制作方法
动力缸
百正液压直销单双向液压缸/双油口液压油缸/单油口液压电动油缸液压泵
更多推荐
油缸进出油原理图
液压油缸那头接进油管
单向液压油缸的结构图
液压油缸原理图详解
模具抽芯油缸接法
油缸进油回油示意图
液压油缸油管连接图
液压油缸正确安装图片
油缸进油口出油口区分
液压油缸进油回油管图
油缸油封安装方法组图
油缸结构图片
液压油缸图片大全
宫颈内口外口示意图
口部结构示意图
液压油缸油封型号大全
油缸图片大全
液压油缸怎么拆卸图片
子宫图结构示意图
单向油缸的工作原理图
卸油口图片
宫口开示意图
油缸结构
油缸管
油缸
旋转油缸
液压油缸
油缸缸径与推力对照表
花的结构示意图
液压油缸规格