首页
伤感说说
动漫配图
心情说说
抖音文案
伤感图片
伤感说说:
伤感的句子说说心情
空间说说
心情说说
爱情说说
女生伤感说说
人生感悟
心情不好的说说
说说带图片
关于生活的说说
说说心情短语
qq空间说说带图片
个性说说
励志名言
一句话经典语录
感悟人生的经典句子
短句吧
情感故事
抖音文案
伤感图片:
伤感图片带字
非主流伤感图片
唯美伤感图片
女生伤感图片
唯美意境图片
悲伤的图片
唯美意境伤感图片
只有字的伤感图片
说说图片
伤心的图片
美甲图片
图片大全
情感图片
微信头像男
动态壁纸
动漫配图
伤感图片
首页
>
自转轴
自转轴,公转自转
传动轴 转动轴 键槽轴加工
自转轴
cn102758895a_组合于转动轴的传动力切换装置有效
自动喷涂线自转轴(图)
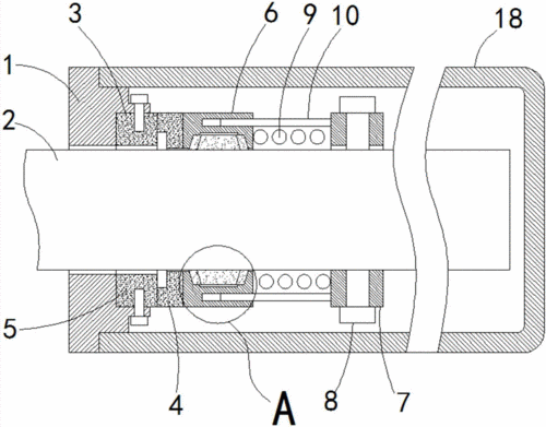
一种高速轴密封结构制造技术
更多推荐
公转自转
自转与公转
地球自转轴
自转
地球自转和公转
地球自转
月球自转
地球自转图
地球自转图示
地球自转方向
地球自转速度
地球自转周期
地球自转动图
地球自转示意图
地球自转卡通
地球自转方向示意图
地球自转gif
地球自转动态图