首页
伤感说说
动漫配图
心情说说
抖音文案
伤感图片
伤感说说:
伤感的句子说说心情
空间说说
心情说说
爱情说说
女生伤感说说
人生感悟
心情不好的说说
说说带图片
关于生活的说说
说说心情短语
qq空间说说带图片
个性说说
励志名言
一句话经典语录
感悟人生的经典句子
短句吧
情感故事
抖音文案
伤感图片:
伤感图片带字
非主流伤感图片
唯美伤感图片
女生伤感图片
唯美意境图片
悲伤的图片
唯美意境伤感图片
只有字的伤感图片
说说图片
伤心的图片
美甲图片
图片大全
情感图片
微信头像男
动态壁纸
动漫配图
伤感图片
首页
>
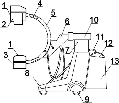
c臂机球管位置示意图
c臂机球管位置示意图,c型臂控制面板图解
血管造影机c臂球管发生器防撞装置的制作方法
c形臂x射线机
cn106137235a_c型臂x光机,控制系统及医学成像系统在审
一种骨科用c型臂
cn208837976u_c臂x射线机及其体表定位装置
更多推荐
c型臂控制面板图解
c臂机组成部分示意图
c型臂x光机结构示意图
c位的位置示意图
后背图片位置示意图
手部血位置示意图大图
腰椎图片位置示意图
器官位置示意图
肱二头肌位置示意图
背部血位置示意图
半月板位置示意图
胃图片位置示意图
人体内器官位置示意图
肝脏图片位置示意图
结肠图片位置示意图
器官位置示意图疼痛
按脚疼痛位置示意图
肾位置示意图
c位示意图
手掌血位置示意图
人体膎窝位置示意图
拔罐12个位置示意图
c臂机结构图
十二指肠位置示意图
后背长痣的位置示意图
舞台c位示意图
胆囊位置示意图
蛛网膜下腔位置示意图
止咳贴贴的位置示意图
车架号位置示意图