首页
伤感说说
动漫配图
心情说说
抖音文案
伤感图片
伤感说说:
伤感的句子说说心情
空间说说
心情说说
爱情说说
女生伤感说说
人生感悟
心情不好的说说
说说带图片
关于生活的说说
说说心情短语
qq空间说说带图片
个性说说
励志名言
一句话经典语录
感悟人生的经典句子
短句吧
情感故事
抖音文案
伤感图片:
伤感图片带字
非主流伤感图片
唯美伤感图片
女生伤感图片
唯美意境图片
悲伤的图片
唯美意境伤感图片
只有字的伤感图片
说说图片
伤心的图片
美甲图片
图片大全
情感图片
微信头像男
动态壁纸
动漫配图
伤感图片
首页
>
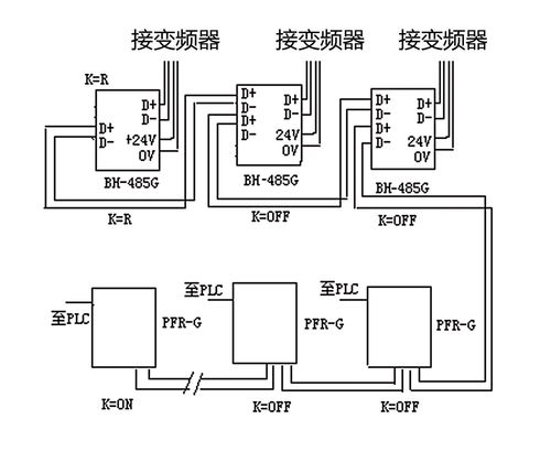
485通讯接口接线图
485通讯接口接线图,智能电表485线接线图
串行通讯中232 422 485 你都知道吗?学完小白进阶大神
rs485/rs232接口,隔离转换模拟信号输出.4-20ma
plc,变频器基于rs-485 通信抗干扰解决方案
图四: rs422 接线图
485接线图
更多推荐
智能电表485线接线图
485 二线接线图
485接口详细接线图
rs485接线图
485通讯接线
485总线接线图
485通讯接口
485通讯接线图 母头
485接线图
232串口接线图 三根
485通讯接线方法图
485接口与水晶头接法
电表采集器接线实物图
485通讯线接线图
485通讯接线图
485通讯接线图9针
485接口和232接口区别
485接线示意图
9针串口rs485接线图
mt6056i通讯口接线图
485通讯9针串口接线图
三相电能表485接线图
485接线端子接法
485两线制接法图
485实物接线图
232接口详细接线颜色
485通讯2芯线接线图
9针485接口详细接线图
485通讯
RS485接口详细接线图