首页
伤感说说
动漫配图
心情说说
抖音文案
伤感图片
伤感说说:
伤感的句子说说心情
空间说说
心情说说
爱情说说
女生伤感说说
人生感悟
心情不好的说说
说说带图片
关于生活的说说
说说心情短语
qq空间说说带图片
个性说说
励志名言
一句话经典语录
感悟人生的经典句子
短句吧
情感故事
抖音文案
伤感图片:
伤感图片带字
非主流伤感图片
唯美伤感图片
女生伤感图片
唯美意境图片
悲伤的图片
唯美意境伤感图片
只有字的伤感图片
说说图片
伤心的图片
美甲图片
图片大全
情感图片
微信头像男
动态壁纸
动漫配图
伤感图片
首页
>
自制小型空气取水器
自制小型空气取水器,2个矿泉水瓶做水循环
用塑料瓶自制滤水器的方法
waterseer可在空气中取水 缓解缺水地区饮水问题
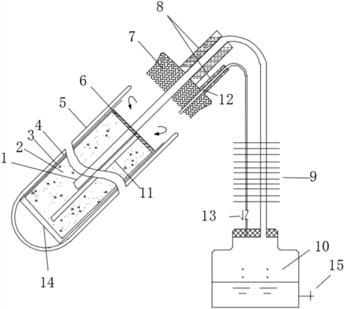
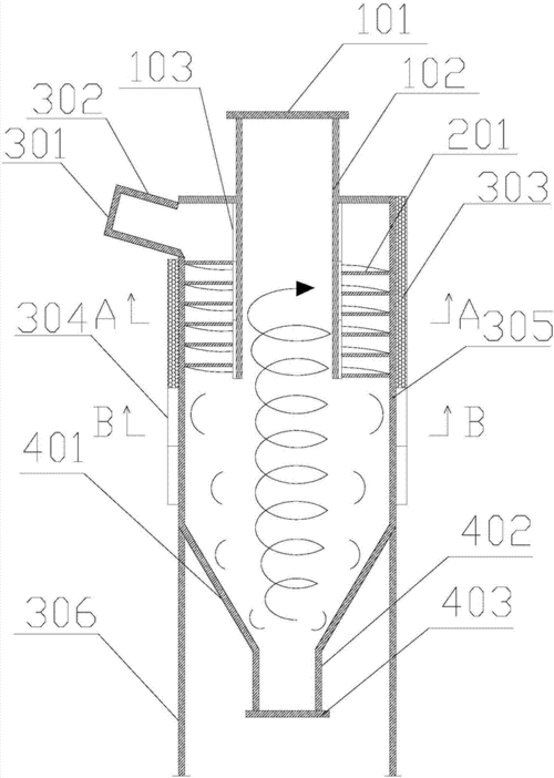
空气取水器制造技术
一种控温式太阳能空气取水管的制作方法
cn209653029u_一种双吸附剂太阳能空气取水装置有效
更多推荐
2个矿泉水瓶做水循环
矿泉水瓶抽水器
自制简易空气取水装置
空气取水器
自制空气集水器
小型自制发射器
自制简单小型售卖机
自制小型体育器材
自制小型行吊
自制空气火箭
自制小型搅拌机
自制小型洗砂机
自制小型烘干机
自制小型振动筛
自制小型输送机
小型电动伸缩机自制
自制小型收纳盒
空气火箭小制作
空气取水机
自制小型电梯
空气制水机
自制小型化铜炉
自制空气舒芙蕾
自制饮水机
自制小型越野车
自制简易小火箭
自制体育器械小班
自制
小学生自制书签
自制伸缩往复机