首页
伤感说说
动漫配图
心情说说
抖音文案
伤感图片
伤感说说:
伤感的句子说说心情
空间说说
心情说说
爱情说说
女生伤感说说
人生感悟
心情不好的说说
说说带图片
关于生活的说说
说说心情短语
qq空间说说带图片
个性说说
励志名言
一句话经典语录
感悟人生的经典句子
短句吧
情感故事
抖音文案
伤感图片:
伤感图片带字
非主流伤感图片
唯美伤感图片
女生伤感图片
唯美意境图片
悲伤的图片
唯美意境伤感图片
只有字的伤感图片
说说图片
伤心的图片
美甲图片
图片大全
情感图片
微信头像男
动态壁纸
动漫配图
伤感图片
首页
>
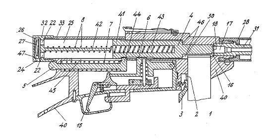
枪机结构
枪机结构,步枪枪机
自由枪机开放机匣的设计并不复杂
98式德国狙击步枪
自由枪机式
这类枪支结构简单,易加工且射速高,但发射瞬间只能靠枪机
在动作开始时,枪管和枪机用机械结构闭锁在一起向后运动,经过一段预期
更多推荐
步枪枪机
枪内部结构图原理
枪机弹簧
步枪各个部件名称图片
98k枪栓解剖图
枪机
枪机结构动态图
步枪枪栓
手动拆卸98k枪栓示意图
枪栓和枪机
枪机图片
枪的基本结构图
枪零件构造图 原理
自由枪机
最简单的扳机构造
枪栓内部结构图动画
扳机构造原理
枪机偏移式闭锁动图
构造最简单的栓动步枪
三八大盖结构分解图
枪机监控摄像头
枪管结构图
枪机闭锁原理动态3D
自由式枪机
枪的结构图高清
枪栓内部结构图原理
自由枪机式
栓式枪机结构
枪机闭锁
栓动枪机结构图