首页
伤感说说
动漫配图
心情说说
抖音文案
伤感图片
伤感说说:
伤感的句子说说心情
空间说说
心情说说
爱情说说
女生伤感说说
人生感悟
心情不好的说说
说说带图片
关于生活的说说
说说心情短语
qq空间说说带图片
个性说说
励志名言
一句话经典语录
感悟人生的经典句子
短句吧
情感故事
抖音文案
伤感图片:
伤感图片带字
非主流伤感图片
唯美伤感图片
女生伤感图片
唯美意境图片
悲伤的图片
唯美意境伤感图片
只有字的伤感图片
说说图片
伤心的图片
美甲图片
图片大全
情感图片
微信头像男
动态壁纸
动漫配图
伤感图片
首页
>
安全带的简单画法
安全带的简单画法,安全带简笔画
系好安全带
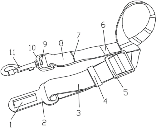
一种防护性能好的安全带的制作方法
一种车载安全带的制作方法
长城风骏5(k4-17)三点式安全带的如何使用?
如何画安全带简笔画
更多推荐
安全带简笔画
一盔一带儿童简笔画
一盔一带宣传儿童画
系安全带简笔画
简笔画鸟的画法最简单
简笔画马的画法最简单
画小鸡的最简单画法
画狗最简单的画法
画老虎最简单的画法
桃花简单画法简笔画
画荷花最简单的画法
简单安全带图片
小孩画人简单画法
小猪的简单画法
小狗最简单的画法
花的画法简单又漂亮
人画法简单
小白兔最简单的画法
小猪的简单画法可爱
小燕子最简单的画法
龙的画法铅笔画
龙的画法国画
书的画法
安全带系法
五角星的画法
安全带的正确使用方法
花的画法
鸟的画法
树的画法
竹子的画法