首页
伤感说说
动漫配图
心情说说
抖音文案
伤感图片
伤感说说:
伤感的句子说说心情
空间说说
心情说说
爱情说说
女生伤感说说
人生感悟
心情不好的说说
说说带图片
关于生活的说说
说说心情短语
qq空间说说带图片
个性说说
励志名言
一句话经典语录
感悟人生的经典句子
短句吧
情感故事
抖音文案
伤感图片:
伤感图片带字
非主流伤感图片
唯美伤感图片
女生伤感图片
唯美意境图片
悲伤的图片
唯美意境伤感图片
只有字的伤感图片
说说图片
伤心的图片
美甲图片
图片大全
情感图片
微信头像男
动态壁纸
动漫配图
伤感图片
首页
>
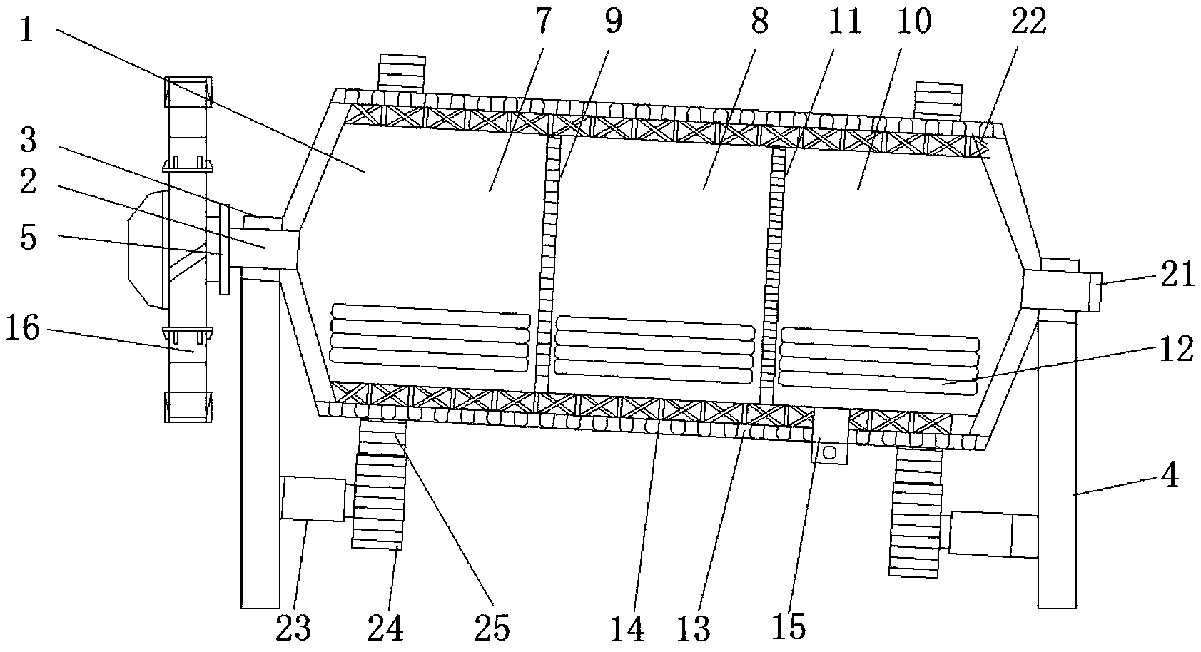
棒磨机三维图
棒磨机三维图,棒磨机耐磨钢棒
棒磨机工作原理3d展示
棒磨机总图
棒磨机mb2736总图
球磨机棒磨机一样球磨机安装调试更难那是你不了解
一种钕铁硼永磁材料生产用棒磨机
更多推荐
棒磨机耐磨钢棒
棒磨机结构图
棒磨机图片
棒磨机钢棒
棒磨机钢棒厂家
三维画图片大全三维图
棒磨机
小型棒磨机
大型棒磨机
干式棒磨机
棒磨机工作原理动图
磨机图片
电磨机磨头
二手棒磨机
三维图图片
棒磨机的工作原理
磨机
立磨机
三维图图片人物
手磨机
辊磨机
水磨机平面
平磨机
直磨机
立式辊磨机
粉磨机
磨机种类
水磨机
手磨机切割片
磨机价格