首页
伤感说说
动漫配图
心情说说
抖音文案
伤感图片
伤感说说:
伤感的句子说说心情
空间说说
心情说说
爱情说说
女生伤感说说
人生感悟
心情不好的说说
说说带图片
关于生活的说说
说说心情短语
qq空间说说带图片
个性说说
励志名言
一句话经典语录
感悟人生的经典句子
短句吧
情感故事
抖音文案
伤感图片:
伤感图片带字
非主流伤感图片
唯美伤感图片
女生伤感图片
唯美意境图片
悲伤的图片
唯美意境伤感图片
只有字的伤感图片
说说图片
伤心的图片
美甲图片
图片大全
情感图片
微信头像男
动态壁纸
动漫配图
伤感图片
首页
>
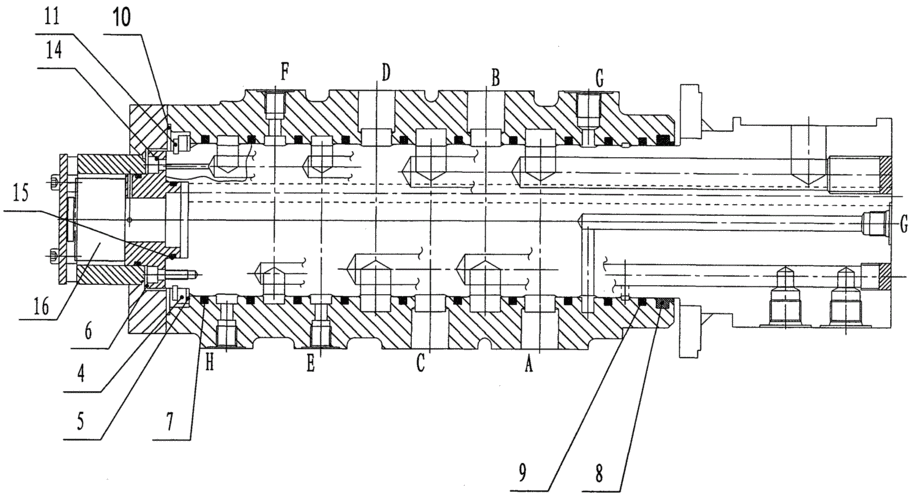
中央回转接头结构图
中央回转接头结构图,挖掘机旋转马达
wy-59,中央回转接头
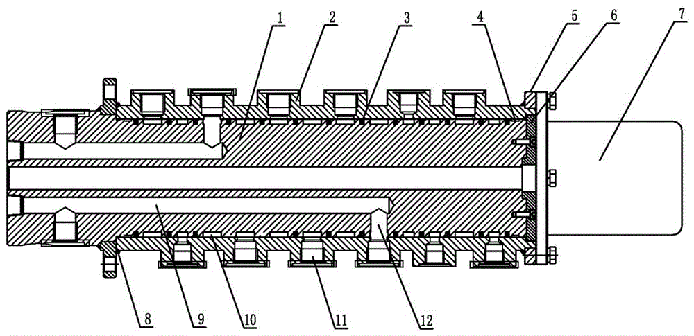
一种激光整平机用12通道中央回转接头的制作方法
你以为中央回转接头控制回转吗?腾旋为您揭晓答案!
旋转接头的结构和工作原理图解一
cn201145107y_带电刷的大型机械用液压中央回转接头失效
更多推荐
挖掘机旋转马达
挖掘机回转机构原理图
中央回转接头原理动画
挖掘机中心回转接头图
挖机中央回转接头
中心回转接头
中央回转接头图片
挖掘机中心回转接头
回转接头
中心回转接头示意图
中央回转接头原理
中央回转接头
回转机构结构图
中央回转接头油封
挖掘机回转接头构造图
回转转盘结构图
回转马达结构图
回转分度盘结构图
液压中心回转接头
塔吊回转机构图解构造
挖掘机回转马达结构图
手动回转分度盘结构图
回转机构原理图
液压回转接头
回转马达的结构
中心接头拆解图
挖掘机回转接头
吊车中心回转体拆解图
旋转管道用旋转接头
三一回转马达解剖图