首页
伤感说说
动漫配图
心情说说
抖音文案
伤感图片
伤感说说:
伤感的句子说说心情
空间说说
心情说说
爱情说说
女生伤感说说
人生感悟
心情不好的说说
说说带图片
关于生活的说说
说说心情短语
qq空间说说带图片
个性说说
励志名言
一句话经典语录
感悟人生的经典句子
短句吧
情感故事
抖音文案
伤感图片:
伤感图片带字
非主流伤感图片
唯美伤感图片
女生伤感图片
唯美意境图片
悲伤的图片
唯美意境伤感图片
只有字的伤感图片
说说图片
伤心的图片
美甲图片
图片大全
情感图片
微信头像男
动态壁纸
动漫配图
伤感图片
首页
>
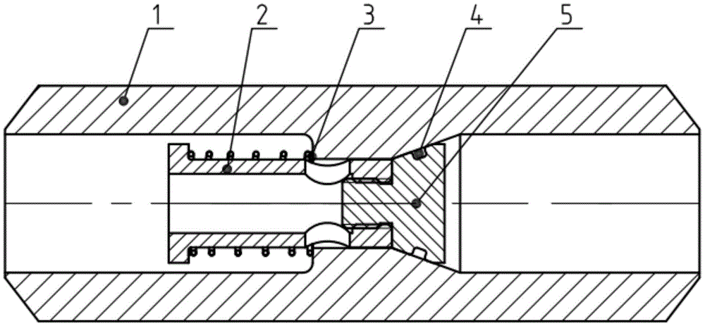
焊接式单向阀
焊接式单向阀,不锈钢溢流阀
不锈钢高压止回阀 逆止阀 304/316焊接式 高压单向阀
danfossnrv6s-35s制冷空调焊接活塞止逆阀单向阀止回逆止阀定制 nrv6s
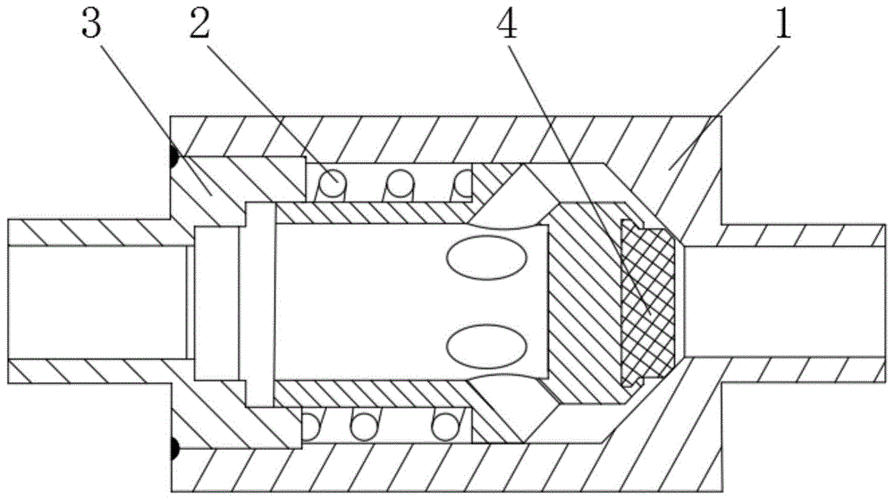
【实用新型】一种o型圈密封焊接式单向阀不可交易
一种全焊接高纯单向阀的制作方法
高压气体单向阀304不锈钢焊接单向止回阀 液压单流逆止阀量大包邮
更多推荐
不锈钢溢流阀
高压气动阀
直动式高压电磁阀
高压电磁阀
耐腐单向阀
耐腐电磁阀
高压电动截止阀
细水雾球阀
直动式电磁阀
法兰式高压球阀
阀组
分步直动式电磁阀
薄型法兰球阀
气动高压阀
高压电动球阀
气用高压电磁阀
管式单向阀
单向阀和止回阀
板式单向阀
液压管式单向阀
焊接球阀
液压单向阀
单向阀
热水器单向阀
管式液控单向阀
单向阀示意图
单向阀种类
单向阀结构
单向阀原理
单向阀结构图