首页
伤感说说
动漫配图
心情说说
抖音文案
伤感图片
伤感说说:
伤感的句子说说心情
空间说说
心情说说
爱情说说
女生伤感说说
人生感悟
心情不好的说说
说说带图片
关于生活的说说
说说心情短语
qq空间说说带图片
个性说说
励志名言
一句话经典语录
感悟人生的经典句子
短句吧
情感故事
抖音文案
伤感图片:
伤感图片带字
非主流伤感图片
唯美伤感图片
女生伤感图片
唯美意境图片
悲伤的图片
唯美意境伤感图片
只有字的伤感图片
说说图片
伤心的图片
美甲图片
图片大全
情感图片
微信头像男
动态壁纸
动漫配图
伤感图片
首页
>
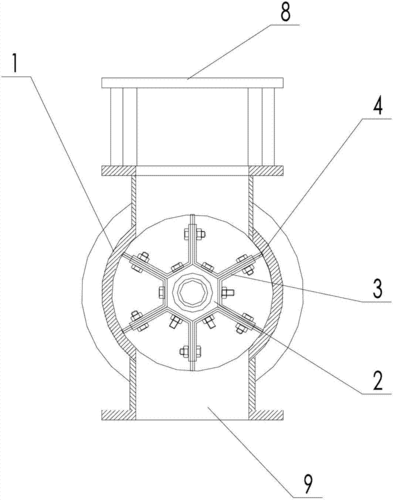
闭风器原理解剖图
闭风器原理解剖图,闭风器示意图
自立 关风器 关风器 闭风器 关风器 卸料阀关风器
ty7叶轮式闭风器——厂家直销
新型高气密性柔性闭风器
星型卸料器旋转叶轮给料机电动卸料机不锈钢方口圆口卸灰阀闭风器
自立 关风器 关风器 闭风器 关风器 卸料阀关风器
更多推荐
闭风器示意图
沙克龙工作原理动画图
闭风器结构图
闭风器二维图
关风器工作原理
关风器工作原理动态图
牙齿结构图解剖图
腹部解剖图
大脑解剖图
女性解剖图
足解剖图
心脏解剖图
胃的解剖图
脊柱解剖图
肘关节解剖图
足骨解剖图
颈椎解剖图
肩关节解剖图
胸骨解剖图
肱骨解剖图
骨盆解剖图
膝关节解剖图
肠道解剖图
胫腓骨解剖图
牙齿解剖图
杠杆原理公式及图解
颈内动脉分段解剖图
心脏解剖图手绘
心脏解剖图简笔画
变压器原理