首页
伤感说说
动漫配图
心情说说
抖音文案
伤感图片
伤感说说:
伤感的句子说说心情
空间说说
心情说说
爱情说说
女生伤感说说
人生感悟
心情不好的说说
说说带图片
关于生活的说说
说说心情短语
qq空间说说带图片
个性说说
励志名言
一句话经典语录
感悟人生的经典句子
短句吧
情感故事
抖音文案
伤感图片:
伤感图片带字
非主流伤感图片
唯美伤感图片
女生伤感图片
唯美意境图片
悲伤的图片
唯美意境伤感图片
只有字的伤感图片
说说图片
伤心的图片
美甲图片
图片大全
情感图片
微信头像男
动态壁纸
动漫配图
伤感图片
首页
>
脚制动阀
脚制动阀,快放阀
脚制动阀结构和工作原理,气压制动,汽车构造和原理学习课程 haokan.
威伯科脚制动阀 (4613170190)
▎ 2.脚制动阀
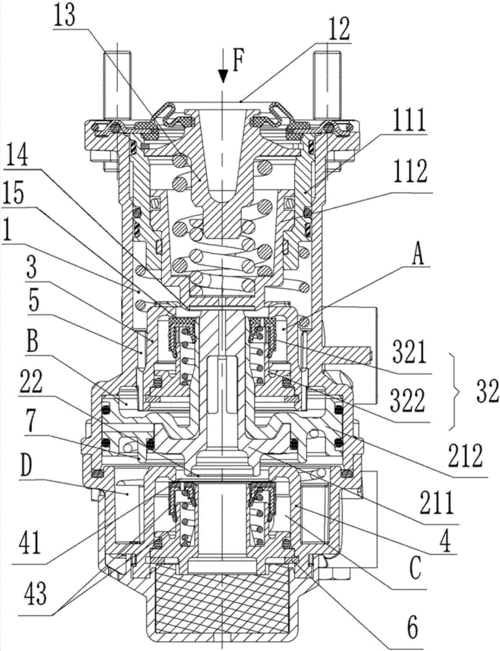
一种使用安全的气制动阀制造技术
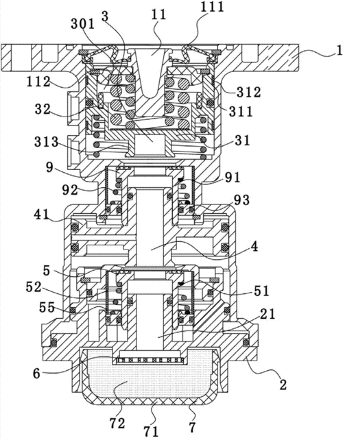
一种集成限压功能的脚制动阀的制作方法
更多推荐
快放阀
继动阀
四回路保护阀