首页
伤感说说
动漫配图
心情说说
抖音文案
伤感图片
伤感说说:
伤感的句子说说心情
空间说说
心情说说
爱情说说
女生伤感说说
人生感悟
心情不好的说说
说说带图片
关于生活的说说
说说心情短语
qq空间说说带图片
个性说说
励志名言
一句话经典语录
感悟人生的经典句子
短句吧
情感故事
抖音文案
伤感图片:
伤感图片带字
非主流伤感图片
唯美伤感图片
女生伤感图片
唯美意境图片
悲伤的图片
唯美意境伤感图片
只有字的伤感图片
说说图片
伤心的图片
美甲图片
图片大全
情感图片
微信头像男
动态壁纸
动漫配图
伤感图片
首页
>
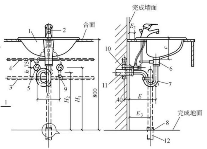
台上盆排水示意图
台上盆排水示意图,同层排水示意图
13. 台上盆墙排水安装示意图
钢化玻璃玻璃艺术台上盆黑色星空台面盆现代简约洗漱台盆套装组合
(台上盆安装示意图)
台上盆安装节点 5,通,满水试验 待玻璃胶干后,连接进水管件与排水管件
新款纽耐思台上盆侧排水洗衣盆带搓衣板阳台洗手盆左下水洗衣机右
更多推荐
同层排水示意图
排水管网平面图示意图
平孔排水示意图
排水系统示意图
二次排水开孔示意图
住宅排水系统示意图
高层排水系统示意图
卫生间二次排水示意图
中央空调外排水示意图
天花机空调排水示意图
上排水
虹吸排水原理图
二次排水怎么做图解
间接排水图片
沉箱二次排水安装实图
子宫图结构示意图
天花机排水做法图
二次排水地漏图片
排水
示意图
洗衣机不排水修理图解
给排水系统图
高层2楼排水系统图
二次排水
二次排水怎么做
冰箱排水孔疏通图解
花的结构示意图
排水法
同层排水
虹吸式排水原理