首页
伤感说说
动漫配图
心情说说
抖音文案
伤感图片
伤感说说:
伤感的句子说说心情
空间说说
心情说说
爱情说说
女生伤感说说
人生感悟
心情不好的说说
说说带图片
关于生活的说说
说说心情短语
qq空间说说带图片
个性说说
励志名言
一句话经典语录
感悟人生的经典句子
短句吧
情感故事
抖音文案
伤感图片:
伤感图片带字
非主流伤感图片
唯美伤感图片
女生伤感图片
唯美意境图片
悲伤的图片
唯美意境伤感图片
只有字的伤感图片
说说图片
伤心的图片
美甲图片
图片大全
情感图片
微信头像男
动态壁纸
动漫配图
伤感图片
首页
>
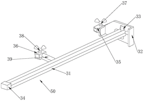
滑樘弹弓 制作方法
滑樘弹弓 制作方法,新一代拉长杆弹弓制作
一种设置有滑座的双弹弓顶针的制作方法
滑道弓的制作方法与工艺
滑躺弹弓的发射开关怎么弄
大威力弹弓配件制作|大威力弹弓配件技巧|大威力弹弓
怎样自制木弹弓
更多推荐
新一代拉长杆弹弓制作
长杆弹弓的制作方法
直杆弹弓制作方法
滑樘弹弓
最新滑膛款式弹弓
弹弓瞄准方法
手工火箭的制作方法
科技作品制作方法简单
水火箭制作方法
手工船的制作方法
书签制作方法
手工书签制作方法
手工花朵制作方法
凉粉的制作方法
汉堡的制作方法
风筝的制作方法和步骤
干花制作方法
牛肉干制作方法和过程
干锅鸡的制作方法
沙拉的制作方法
鱼骨图的制作方法
弹弓
日晷的制作方法
娃娃鱼的制作方法
牛肉丸的制作方法
弹弓怎么瞄准图解
植物标本的制作方法
大威力弹弓
四果汤制作方法
精美书签制作方法图片