首页
伤感说说
动漫配图
心情说说
抖音文案
伤感图片
伤感说说:
伤感的句子说说心情
空间说说
心情说说
爱情说说
女生伤感说说
人生感悟
心情不好的说说
说说带图片
关于生活的说说
说说心情短语
qq空间说说带图片
个性说说
励志名言
一句话经典语录
感悟人生的经典句子
短句吧
情感故事
抖音文案
伤感图片:
伤感图片带字
非主流伤感图片
唯美伤感图片
女生伤感图片
唯美意境图片
悲伤的图片
唯美意境伤感图片
只有字的伤感图片
说说图片
伤心的图片
美甲图片
图片大全
情感图片
微信头像男
动态壁纸
动漫配图
伤感图片
首页
>
危废暂存间设计图纸
危废暂存间设计图纸,危废暂存间图片
东营倾倒危废事故,官方发布最新通告:涉案嫌疑人已被控制
危废暂存间专人管理,张贴规范标识.
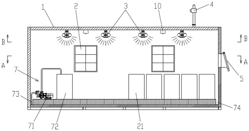
一种移动式危废暂存间的制作方法
危废标签,标识怎么设置?
图示:危废暂存场所设置,标志对错及各种要求!危废常见
更多推荐
危废暂存间图片
危废暂存间标准图片
医疗废物暂存间设计图
危废暂存间
危废暂存间标志
设计图纸与施工图纸
危废暂存间标识标牌
危废间建设标准图片
设计图纸效果图
医疗废物暂存间图片
设计图纸平面图
别墅设计图纸效果图
危废间地面图片
设计图纸
危废间导流槽图片
建筑设计图纸平面图
危废间内部图片
医疗废物暂存平面图
设计图纸现代
医废暂存间标识牌
医疗废物暂存间标准图
危废间标准图片
别墅设计图纸
设计图纸房屋
医疗废物暂存间标识
装修设计图纸
建筑设计图纸
别墅设计图纸手绘
危废间建设标准
医疗废物暂存间布局