首页
伤感说说
动漫配图
心情说说
抖音文案
伤感图片
伤感说说:
伤感的句子说说心情
空间说说
心情说说
爱情说说
女生伤感说说
人生感悟
心情不好的说说
说说带图片
关于生活的说说
说说心情短语
qq空间说说带图片
个性说说
励志名言
一句话经典语录
感悟人生的经典句子
短句吧
情感故事
抖音文案
伤感图片:
伤感图片带字
非主流伤感图片
唯美伤感图片
女生伤感图片
唯美意境图片
悲伤的图片
唯美意境伤感图片
只有字的伤感图片
说说图片
伤心的图片
美甲图片
图片大全
情感图片
微信头像男
动态壁纸
动漫配图
伤感图片
首页
>
护目镜简笔画
护目镜简笔画,医用护目镜画法
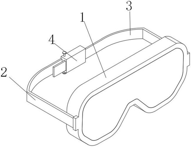
cn213092045u_一种防变形护目镜
护目镜
戴上防护手套和护目镜,到户外或通风良好的地方.
护目镜
疫情前线的护目镜简笔画怎么画
更多推荐
医用护目镜画法
科学护目镜简笔画
滑雪护目镜简笔画
防疫护目镜
防护镜简笔画
护目镜滑雪
护目镜动漫
雪板简笔画双版
冬天帽子简笔画
胶枪简笔画
防护眼镜简笔画
护目镜画法
滑雪头盔简笔画
口罩插画
科学工具简笔画
护目镜素描
曲线锯简笔画
防护手套简笔画
雪杖简笔画
冬奥会护目镜简笔画
滑冰护目镜简笔画
巴祖卡简笔画
护目镜简笔画 卡通
弹簧夹简笔画
运动员护目镜简笔画
运动护目镜简笔画
护目镜简笔画 彩色
防疫护目镜简笔画
棉签简笔画
酒精简笔画