首页
伤感说说
动漫配图
心情说说
抖音文案
伤感图片
伤感说说:
伤感的句子说说心情
空间说说
心情说说
爱情说说
女生伤感说说
人生感悟
心情不好的说说
说说带图片
关于生活的说说
说说心情短语
qq空间说说带图片
个性说说
励志名言
一句话经典语录
感悟人生的经典句子
短句吧
情感故事
抖音文案
伤感图片:
伤感图片带字
非主流伤感图片
唯美伤感图片
女生伤感图片
唯美意境图片
悲伤的图片
唯美意境伤感图片
只有字的伤感图片
说说图片
伤心的图片
美甲图片
图片大全
情感图片
微信头像男
动态壁纸
动漫配图
伤感图片
首页
>
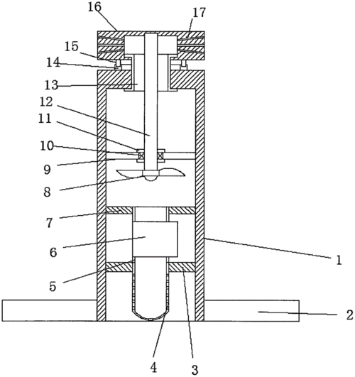
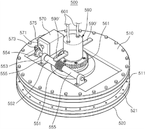
360度旋转装置结构图片
360度旋转装置结构图片,旋转装置
cn203809635u_一种360度回旋式旋转装置有效
笔记本电脑的360度旋转结构的制作方法
装置固定设置于上部斗杆与下部斗杆之间,尤其,下部斗杆可双向旋转360
x技术 最新专利 物理化学装置的制造及其应用技术 一种360度自动旋转
一种可以360度旋转且任意移动的高低调节装置的制作
更多推荐
旋转装置
旋转结构
简单旋转固定结构图
自动旋转装置
旋转固定装置
手动旋转装置
360度旋转机构
击发装置结构
机械90度旋转装置
机械180度旋转装置
简易旋转工作台结构图
旋转蒸发装置
简易手动旋转装置
机械自动旋转装置设计
360度自动旋转喷头
360度全景图片可旋转
360度可手动旋转全景图
机械旋转装置
旋转定位装置
360度旋转
360度旋转置物架
360°全景旋转图片
360度旋转楼梯效果图
360度旋转水龙头
液压旋转油缸360度
旋转机构动图
旋转机构
360度旋转衣架
360旋转摄像头
720度可手动旋转全景图