首页
伤感说说
动漫配图
心情说说
抖音文案
伤感图片
伤感说说:
伤感的句子说说心情
空间说说
心情说说
爱情说说
女生伤感说说
人生感悟
心情不好的说说
说说带图片
关于生活的说说
说说心情短语
qq空间说说带图片
个性说说
励志名言
一句话经典语录
感悟人生的经典句子
短句吧
情感故事
抖音文案
伤感图片:
伤感图片带字
非主流伤感图片
唯美伤感图片
女生伤感图片
唯美意境图片
悲伤的图片
唯美意境伤感图片
只有字的伤感图片
说说图片
伤心的图片
美甲图片
图片大全
情感图片
微信头像男
动态壁纸
动漫配图
伤感图片
首页
>
机械推拉装置
机械推拉装置,简单的机械平移装置
电动推拉装置
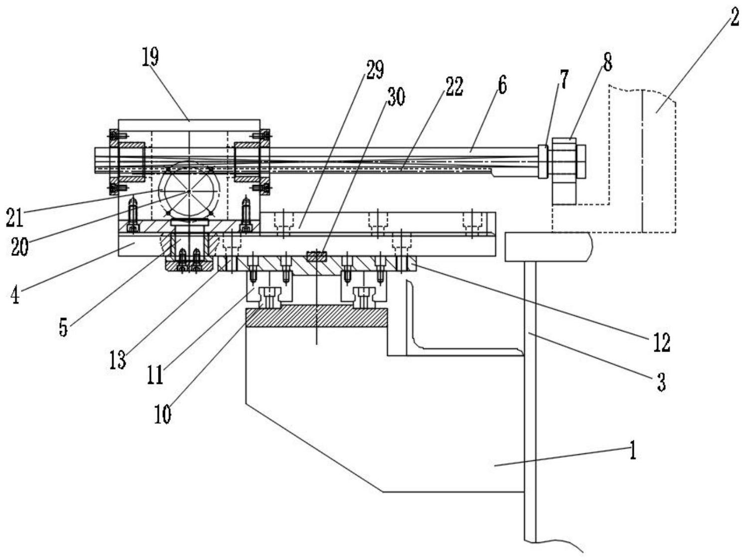
cn112808777a_一种冶金设备拆装用推拉装置,焊管轧机及拆装方法有效
一种电动推拉装卸砂浆装置
cn111992624a_自动推拉定位移模装置在审
一种适用于多规格模具装卸的推拉装置 :本专利技术涉及机械
更多推荐
简单的机械平移装置
最简单往复运动机械
机械推动装置
往复推拉机构
自动伸缩装置
自动推拉装置
推拉装置
机械装置
水平推拉装置
机械装置设计
机械旋转装置
机械搅拌装置
机械夹持装置
机械联锁装置
机械限位装置
机械装置图片
简单的机械装置
机械锁紧装置
机械自锁装置
机械装置艺术
机械90度旋转装置
机械快速锁紧装置
机械自动旋转装置设计
花瓣开合机械装置
自动推拉电动门
机械
推拉
推拉帐篷
电动推拉大门
电动推拉棚