首页
伤感说说
动漫配图
心情说说
抖音文案
伤感图片
伤感说说:
伤感的句子说说心情
空间说说
心情说说
爱情说说
女生伤感说说
人生感悟
心情不好的说说
说说带图片
关于生活的说说
说说心情短语
qq空间说说带图片
个性说说
励志名言
一句话经典语录
感悟人生的经典句子
短句吧
情感故事
抖音文案
伤感图片:
伤感图片带字
非主流伤感图片
唯美伤感图片
女生伤感图片
唯美意境图片
悲伤的图片
唯美意境伤感图片
只有字的伤感图片
说说图片
伤心的图片
美甲图片
图片大全
情感图片
微信头像男
动态壁纸
动漫配图
伤感图片
首页
>
螺杆挤出机cad图
螺杆挤出机cad图,cad图
螺杆挤出机突然宕机了,我有点慌.
30张图让你秒秒钟读懂双螺杆挤出机的螺杆设计(实用经典)
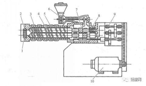
双螺杆挤出机结构示意图
双螺杆挤出机示意图
双螺杆挤出机的工作原理
更多推荐
cad图
cad图纸图片
cad图纸平面图
cad平面图
cad图纸户型图
cad图初学者
cad图新手入门
简单的cad平面图
cad练图100例
cad图纸练手
cad新手必练300图
CAD施工图