首页
伤感说说
动漫配图
心情说说
抖音文案
伤感图片
伤感说说:
伤感的句子说说心情
空间说说
心情说说
爱情说说
女生伤感说说
人生感悟
心情不好的说说
说说带图片
关于生活的说说
说说心情短语
qq空间说说带图片
个性说说
励志名言
一句话经典语录
感悟人生的经典句子
短句吧
情感故事
抖音文案
伤感图片:
伤感图片带字
非主流伤感图片
唯美伤感图片
女生伤感图片
唯美意境图片
悲伤的图片
唯美意境伤感图片
只有字的伤感图片
说说图片
伤心的图片
美甲图片
图片大全
情感图片
微信头像男
动态壁纸
动漫配图
伤感图片
首页
>
测温枪画法
测温枪画法,斜二测画法
测温枪简笔画
额式测温枪简笔画
如何画电子测温计的简笔画
用测温枪测体温简笔画
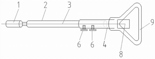
cn206670800u_一种铁水测温枪的活动连接件有效
更多推荐
斜二测画法
手画法
花的画法
荷花的画法
书的画法
马的画法
玫瑰花画法
树的画法
鸟的画法
眼睛画法
竹子的画法
鱼的画法
龙的画法
长城的画法
五角星的画法
党旗的画法
动漫眼睛画法
奥特曼的画法
女生漫画眼睛100种画法
修改符号的用法及画法
十二星座画法可爱版