首页
伤感说说
动漫配图
心情说说
抖音文案
伤感图片
伤感说说:
伤感的句子说说心情
空间说说
心情说说
爱情说说
女生伤感说说
人生感悟
心情不好的说说
说说带图片
关于生活的说说
说说心情短语
qq空间说说带图片
个性说说
励志名言
一句话经典语录
感悟人生的经典句子
短句吧
情感故事
抖音文案
伤感图片:
伤感图片带字
非主流伤感图片
唯美伤感图片
女生伤感图片
唯美意境图片
悲伤的图片
唯美意境伤感图片
只有字的伤感图片
说说图片
伤心的图片
美甲图片
图片大全
情感图片
微信头像男
动态壁纸
动漫配图
伤感图片
首页
>
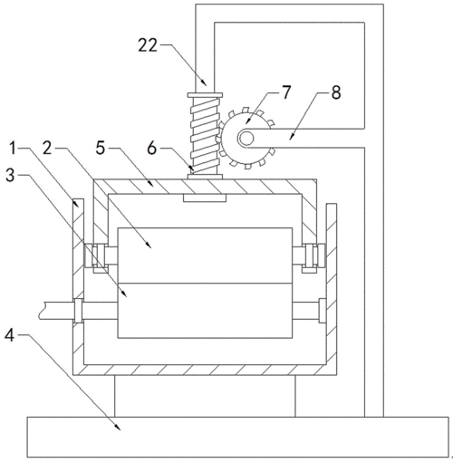
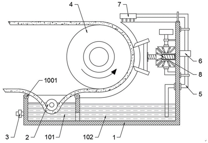
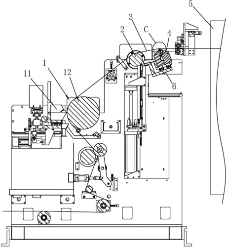
涂布机结构图
涂布机结构图,涂布机图纸3D
涂布机的制作方法
tqc实验室小型涂布机结构图2
cn101791605a_一种挤压涂布机实现间歇涂布的方式有效
涂布机的制作方法
cn104014461a_锂电池材料双面涂布机有效
更多推荐
涂布机图纸3D
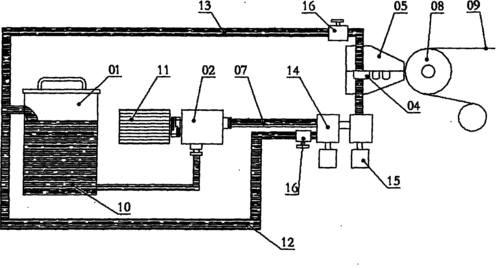
涂布机原理图解
挤压涂布机模头结构图
新能源涂布机
涂布机示意图
涂布机生产线
涂布机图片
涂布机涂布头图片
涂布机锂电池
涂布机工艺流程图
小型涂布机
涂布机
双层涂布机
三轴涂布机
涂布机头
自动涂布机
嘉拓涂布机
刮刀式涂布机
铜箔涂布机
挤压涂布机
胶带涂布机
结构图
常州涂布机
涂布机图片锂电池
大脑结构图
人体结构图
肺的结构图
显微镜的结构图
常州永盛涂布机
眼睛的结构图