首页
伤感说说
动漫配图
心情说说
抖音文案
伤感图片
伤感说说:
伤感的句子说说心情
空间说说
心情说说
爱情说说
女生伤感说说
人生感悟
心情不好的说说
说说带图片
关于生活的说说
说说心情短语
qq空间说说带图片
个性说说
励志名言
一句话经典语录
感悟人生的经典句子
短句吧
情感故事
抖音文案
伤感图片:
伤感图片带字
非主流伤感图片
唯美伤感图片
女生伤感图片
唯美意境图片
悲伤的图片
唯美意境伤感图片
只有字的伤感图片
说说图片
伤心的图片
美甲图片
图片大全
情感图片
微信头像男
动态壁纸
动漫配图
伤感图片
首页
>
涂布机示意图
涂布机示意图,涂布机结构图
涂布机简介以及电磁加热辊在涂布过程中的应用——电磁加热辊(电磁
正弦sine300系列变频器在涂布机上的应用
极片涂布机设计原理和操作使用基础
第三步 涂布
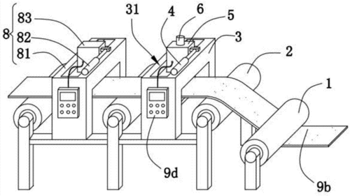
一种膏药贴热压涂布机的制作方法
更多推荐
涂布机结构图
涂布机原理图解
涂布机生产线
涂布机图片
涂布机涂布头图片
小型涂布机
涂布机
自动涂布机
双层涂布机
涂布机头
涂布机工艺流程图
三轴涂布机
涂布机图纸3D
刮刀式涂布机
嘉拓涂布机
铜箔涂布机
胶带涂布机
挤压涂布机
涂布机图片锂电池
常州涂布机
新能源涂布机
涂布机锂电池
示意图
子宫图结构示意图
常州永盛涂布机
花的结构示意图
长宽高示意图
心脏示意图
原子结构示意图
人体肌肉结构图示意图